lemon-mirror:
Home >> Subaru >> 2001 >> Forester Base >> Repair and Diagnosis >> Transmission >> Automatic Trans >> A/T Mechanism & Function >> Power Train >> Construction

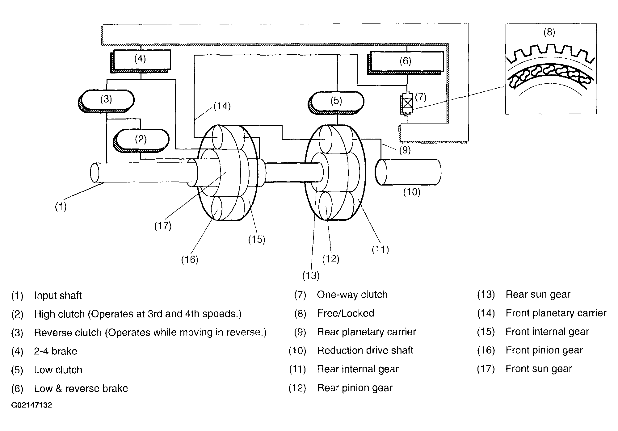
Power Train: Construction

The gear train consists of two sets of planetary gears, three sets of multi-plate clutches, two sets of multi-plate brakes and one set of one-way clutch.

Fig 1: Identifying Power Train Components
G02147132