lemon-mirror:
Home >> Subaru >> 2001 >> Forester Base >> Repair and Diagnosis >> Transmission >> Automatic Trans >> A/T Mechanism & Function >> Power Train >> N Range

N Range

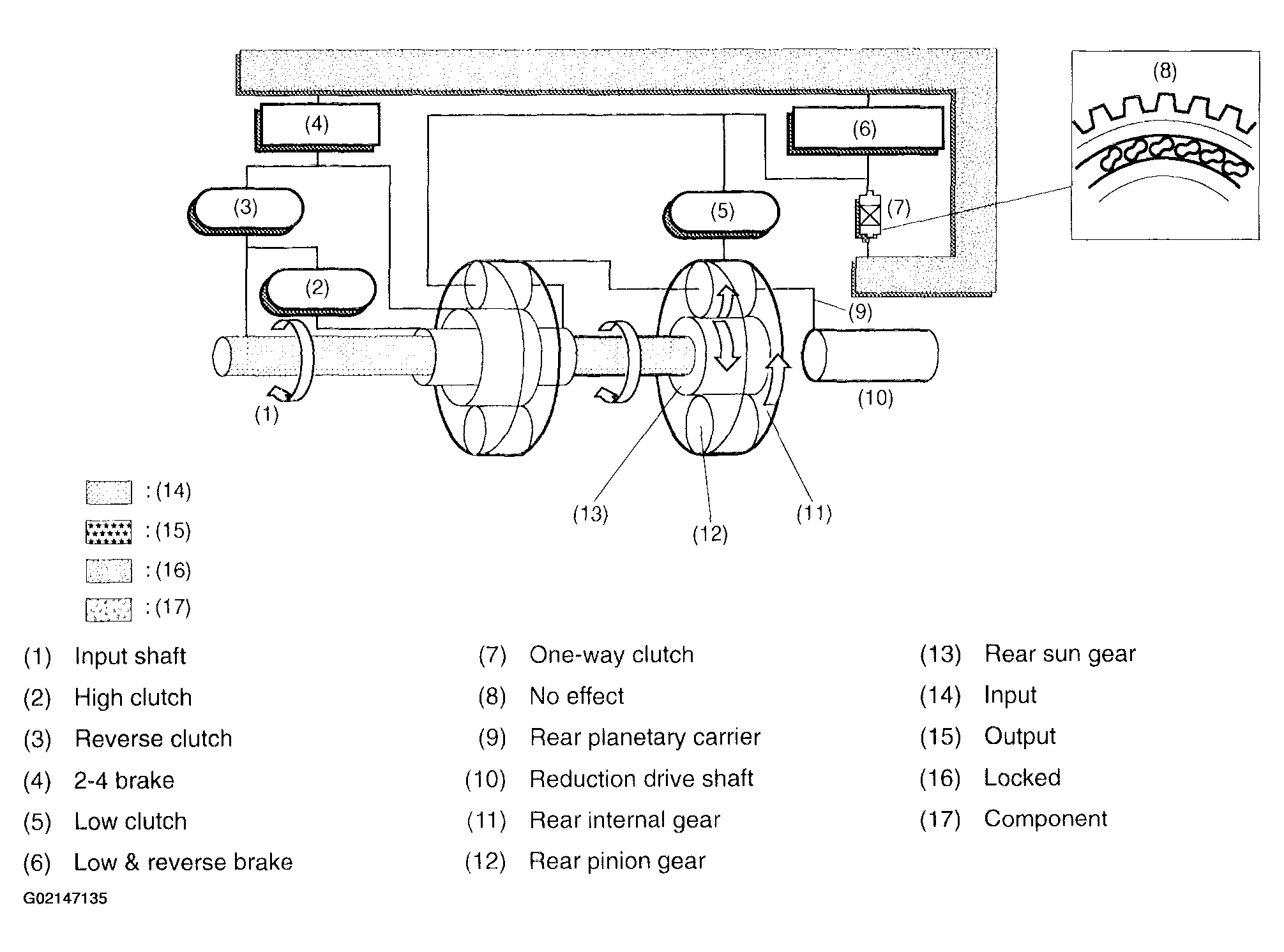
Since the rear sun gear and the high clutch drum are in mesh with the input shaft, they rotate together with input shaft.

The high clutch drum does not transmit the rotation torque to the planetary unit since the reverse clutch and the high clutch are in the free state.

The rotation torque of the rear sun gear is transmitted to the rear internal gear through the pinion gear.

However, the rotation torque of the rear sun gear is not transmitted to the rear planetary carrier since the rear internal gear idles because of disengaged low clutch.

Accordingly, the rotation torque of the input shaft is not transmitted to the reduction drive shaft.

Fig 1: N Range - Operation (1 Of 2)
G02147134
Fig 2: N Range - Operation (2 Of 2)
G02147135