lemon-mirror:
Home >> Subaru >> 2001 >> Forester Base >> Repair and Diagnosis >> Transmission >> Automatic Trans >> A/T Mechanism & Function >> Transmission Control Module (TCM) >> AWD Transfer Clutch Control

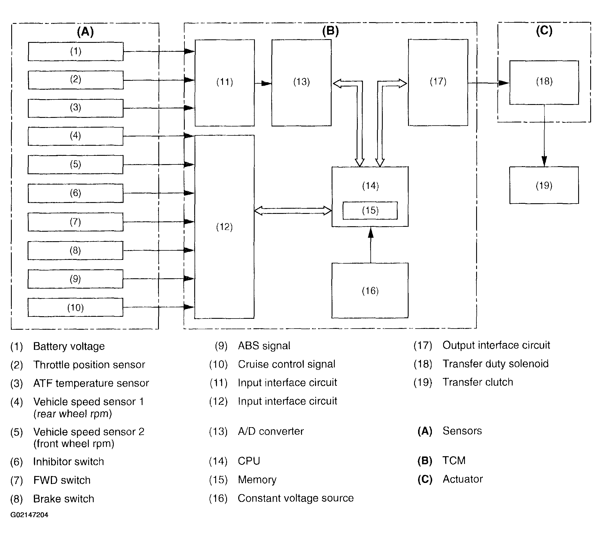
AWD Transfer Clutch Control

Fig 1: AWD Transfer Clutch Control Chart (1 Of 2)
G02147203
Fig 2: AWD Transfer Clutch Control Chart (2 Of 2)
G02147204