Shift Control
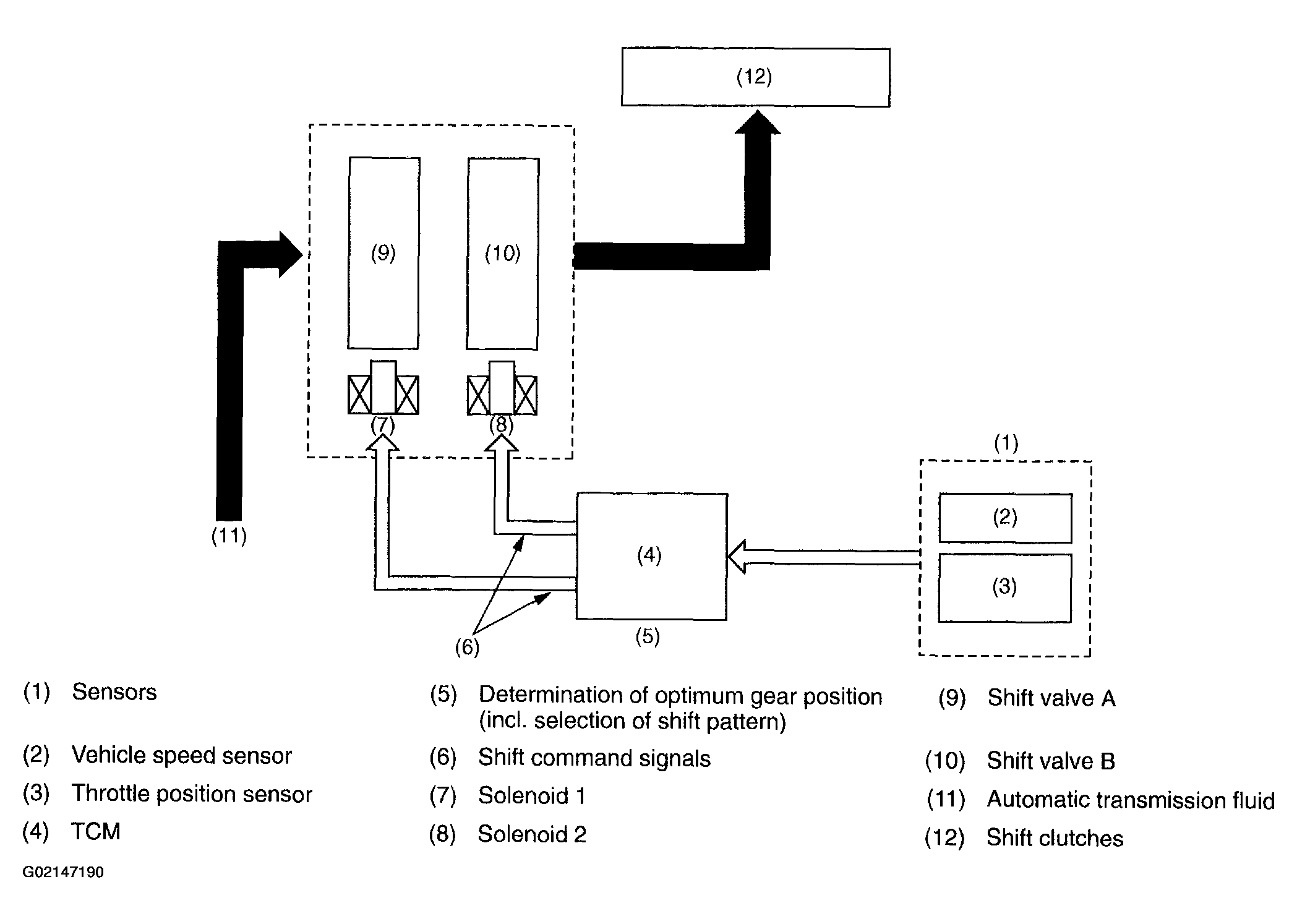
Gear shifting is controlled in response to driving conditions, according to the shift point characteristic data stored in the TCM. Solenoids are operated at the proper time corresponding to the shift pattern, throttle position, and vehicle speed for smooth shifting.
NOTE:
When oil temperature is below approximately 10°C (50°F), the vehicle cannot be shifted to the 4th gear.
- Control module activates both solenoids 1 and 2 in response to throttle and vehicle speed signals.
- Shift valve moves in response to solenoid operation, supplying/interrupting clutch pressure to the line.
- Gears are shifted by ON-OFF operation of both solenoids as indicated in table.