lemon-mirror:
Home >> Subaru >> 2001 >> Outback Base, Automatic >> Repair and Diagnosis >> External Pages >> Different car >> Section 114 (Engine Cooling System) >> Radiator >> Installation >> Turbo Model

Turbo Model

WARNING: This page is about a different car, the 2003 Subaru Impreza. However, it is still accessible from the selected car via links, so may be relevant.
  1. Attach the radiator mounting cushions to holes on the vehicle.
    Fig 1: Attaching Radiator Mounting Cushions To Holes On Vehicle
    G02621426Courtesy of SUBARU OF AMERICA, INC.
  2. Install the radiator brackets and tighten bolts.
    1. Tightening torque:  18 N.m (1.8 kgf.m, 13.0 ft.lb)
    Fig 2: Installing Radiator Brackets & Tightening Bolts
    G02621427Courtesy of SUBARU OF AMERICA, INC.
  3. Connect the radiator inlet hose (A) and coolant filler tank hose (B).
    Fig 3: Connecting Inlet Hose From Radiator
    G02621413Courtesy of SUBARU OF AMERICA, INC.
    Fig 4: Connecting Coolant Filler Tank Hose From Radiator
    G02621429Courtesy of SUBARU OF AMERICA, INC.
  4. Install the reservoir tank.
    1. Tightening torque:  4.9 N.m (0.50 kgf.m, 3.6 ft.lb)
    Fig 5: Installing Reservoir Tank
    G02621430Courtesy of SUBARU OF AMERICA, INC.
  5. Connect the over flow hose.
  6. Lift-up the vehicle.
  7. Connect the connectors to the radiator main fan motor (A) and sub fan motor (B).
    Fig 6: Connecting Connector To Radiator Main Fan Motor
    G02621431Courtesy of SUBARU OF AMERICA, INC.
    Fig 7: Connecting Connector To Radiator Sub Fan Motor
    G02621432Courtesy of SUBARU OF AMERICA, INC.
  8. Connect the ATF cooler hoses. (AT vehicles only)
    Fig 8: Connecting ATF Cooler Hoses (AT Vehicles Only)
    G02621433Courtesy of SUBARU OF AMERICA, INC.
  9. Connect the radiator outlet hose.
    Fig 9: Connecting Radiator Outlet Hose
    G02621434Courtesy of SUBARU OF AMERICA, INC.
  10. Install the radiator under cover. (AT vehicle only)
    Fig 10: Installing Radiator Under Cover (AT Vehicle Only)
    G02621435Courtesy of SUBARU OF AMERICA, INC.
  11. Install the under cover.
  12. Lower the vehicle.
  13. Install the V-belt covers.
    Fig 11: Installing V-Belt Covers
    G02621436Courtesy of SUBARU OF AMERICA, INC.
  14. Install the air intake duct.
    Fig 12: Installing Air Intake Duct
    G02621437Courtesy of SUBARU OF AMERICA, INC.
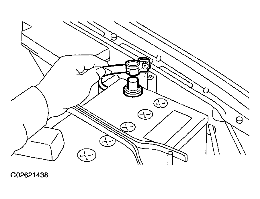
  15. Connect the battery ground cable.
    Fig 13: Connecting Battery Ground Cable
    G02621438Courtesy of SUBARU OF AMERICA, INC.
  16. Fill engine coolant, see FILLING OF ENGINE COOLANT , REPLACEMENT, Engine Coolant.