lemon-mirror:
Home >> Subaru >> 2001 >> Outback Base, Automatic >> Repair and Diagnosis >> Steering >> Power Steering >> Power Assisted Steering >> Oil Pump >> Assembly

Oil Pump: Assembly

  1. Reassembly precautions
    1. Whenever O-rings, oil seals, and snap rings are removed, they must be replaced with new ones.
    2. Thoroughly wash parts and allow to dry. They must be kept free from cleaning oil and dust.
    3. Reassembly procedure must be performed in clean place. Ensure that parts are kept away from waste threads or other dust particles.
    4. Cleaning oil tends to stay inside the front casing. Remove it completely by blowing compressed air.
    5. Ensure that parts are free from rust. (Use specified hydraulic oil for rust prevention after cleaning and drying.)
    6. Reverse the sequence of disassembly procedures.
  2. Apply grease to oil seal and inner surface of front casing (at bearing location).
    CAUTION: Make sure that the front body internal surfaces are free from damage.
  3. Temporarily install rear cover to front body.
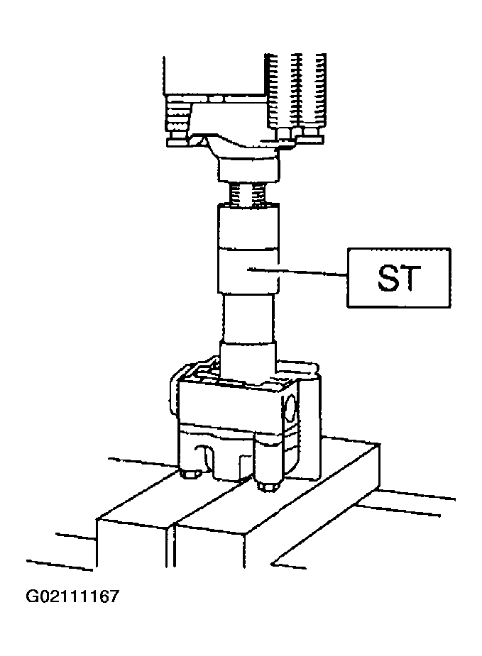
  4. Attach ST to front body. Using a press, install oil seal.

    ST 34199AE030 INSTALLER

    Fig 1: Install Oil Seal Using Press
    G02111167
  5. Install pump pulley to front body.
  6. Using ST, place oil pump in a vise.

    ST 34199AE020 ATTACHMENT

  7. Remove rear cover.
  8. Using 10-mm box wrench, tap retaining ring into shaft groove.
    Fig 2: Tapping Retaining Ring Into Shaft Groove
    G02111168
  9. Install pressure plate as shown in the figure.
    Fig 3: Installing Pressure Plate
    G02111169
  10. Apply specified hydraulic oil to O-rings and fit them into front casing and pressure plate.
  11. Install seal ring to pressure plate.
  12. With knock pin positions aligned, install rear cover.

    Tightening torque: 

    1. 27.5 N.m (2.8 kgf-m, 20.3 ft-lb)
    CAUTION: Loosely tighten bolts in the sequence (A), (B), (C), and (D) shown in figure. Then, tighten in the same sequence.
    Fig 4: Installing Rear Cover
    G02111170
  13. When reassembly procedures have been completed, turn shaft by hand to ensure it turns smoothly. If it binds or other unusual conditions are evident, disassemble again and check for foreign matter trapped on sliding surfaces and improper installation. Eliminate the cause of trouble.
  14. Check followings by referring to "CHECK" article.
    • Excessive play in pulley shaft
    • Ditch deflection of pulley
    • Resistance to rotation of pulley
    • Measurement of generated oil pressure