lemon-mirror:
Home >> Subaru >> 2001 >> Outback Base, Automatic >> Repair and Diagnosis >> Transmission >> Automatic Trans >> A/T Servicing >> Adjustments >> Select Cable

Select Cable

Move select lever from "P" position to "1" position. You should be able to feel the detents in each position. If the detentes cannot be felt or the position pointer is improperly aligned, adjust the cable.

  1. Prior to removal, set lever to "N" position.
  2. Remove rear exhaust pipe and muffler.
  3. Remove heat shield cover. See Fig 1 .
  4. Loosen the adjusting nut on each side. See Fig 2 .
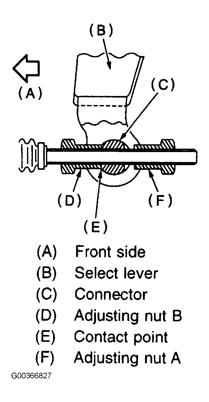
  5. Turn adjusting nut "B" until it lightly touches the connector. See Fig 3 .
  6. While preventing adjusting nut "B" from moving with a wrench, tighten adjusting nut "A". See Fig 4 .
  7. After completion of fitting, make sure that the select lever operates smoothly all across the operating range.
Fig 1: Removing Heat Shield Cover
G00366823Courtesy of SUBARU OF AMERICA, INC.
Fig 2: Disconnecting Cable From Select Lever
G00366826Courtesy of SUBARU OF AMERICA, INC.
Fig 3: Turning Adjusting Nut "B"
G00366827Courtesy of SUBARU OF AMERICA, INC.
Fig 4: Tightening Adjusting Nut "A"
G00366828Courtesy of SUBARU OF AMERICA, INC.