lemon-mirror:
Home >> Subaru >> 2001 >> Outback Base, Automatic >> Repair and Diagnosis >> Transmission >> Automatic Trans >> Diagnostics >> ATF Temperature Warning Light Display >> Inspection

ATF Temperature Warning Light Display: Inspection

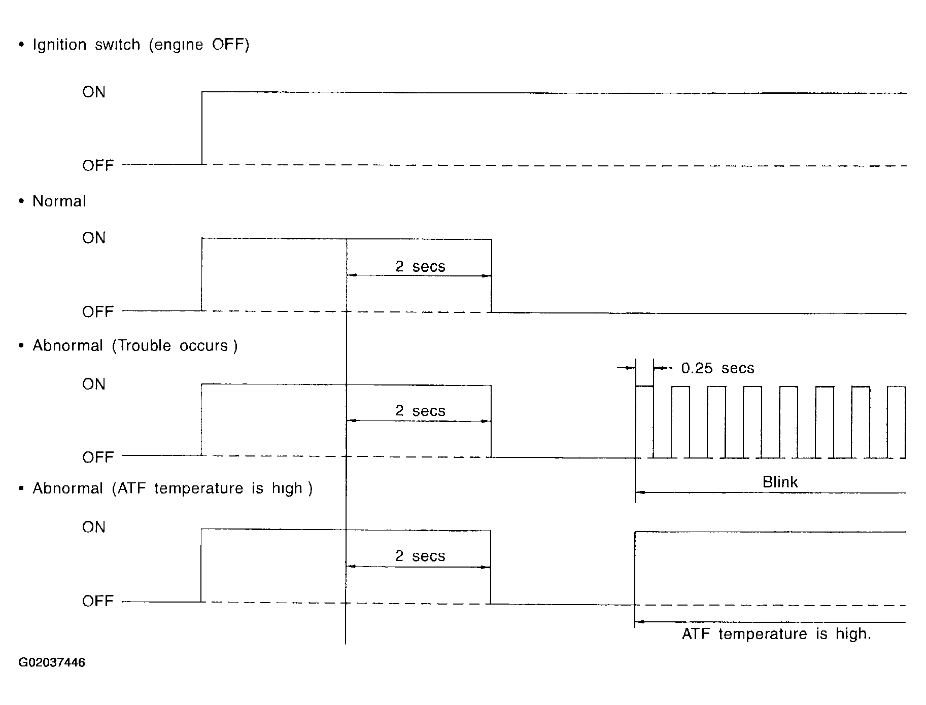
When any on-board diagnostics item is malfunctioning, the display on the AT OIL TEMP warning light blinks from the time the malfunction is detected after starting the engine until the ignition switch is turned OFF. The malfunctioning part or unit can be determined by a trouble code during on-board diagnostics operation. Problems which occurred previously can also be identified through the memory function. If the AT OIL TEMP warning does not show a problem (although a problem is occurring), the problem can be determined by checking the performance characteristics of each sensor using the select monitor. Indicator signal is as shown in the figure.

Fig 1: Identifying ATF Temperature Warning Light Display
G02037446