lemon-mirror:
Home >> Subaru >> 2001 >> Outback Base, Automatic >> Repair and Diagnosis >> Transmission >> Automatic Trans >> On-Vehicle Service & Testing >> General Description >> Component >> Transmission Mounting

Transmission Mounting

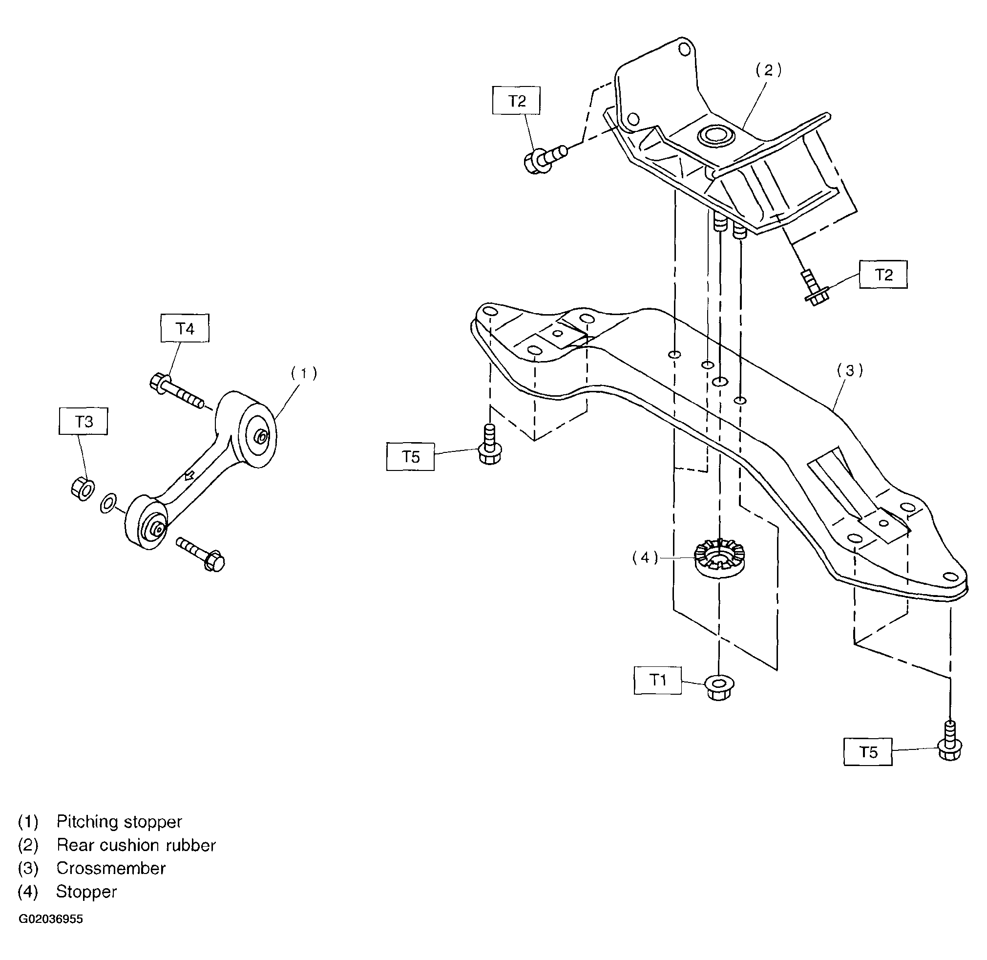
Fig 1: Identifying Transmission Mounting
G02036955

Tightening torque: N.m (kgf-m, ft-lb) 

  1. T1:  35 (3.6, 26)
  2. T2:  39 (4.0, 29)
  3. T3:  50 (5.1, 37)
  4. T4:  58 (5.9, 43)
  5. T5:  75 (7.6, 55)