lemon-mirror:
Home >> Subaru >> 2001 >> Outback Base, Automatic >> Repair and Diagnosis >> Transmission >> Automatic Trans >> Overhaul Automatic Transmission >> General Description >> Component >> Oil Pump

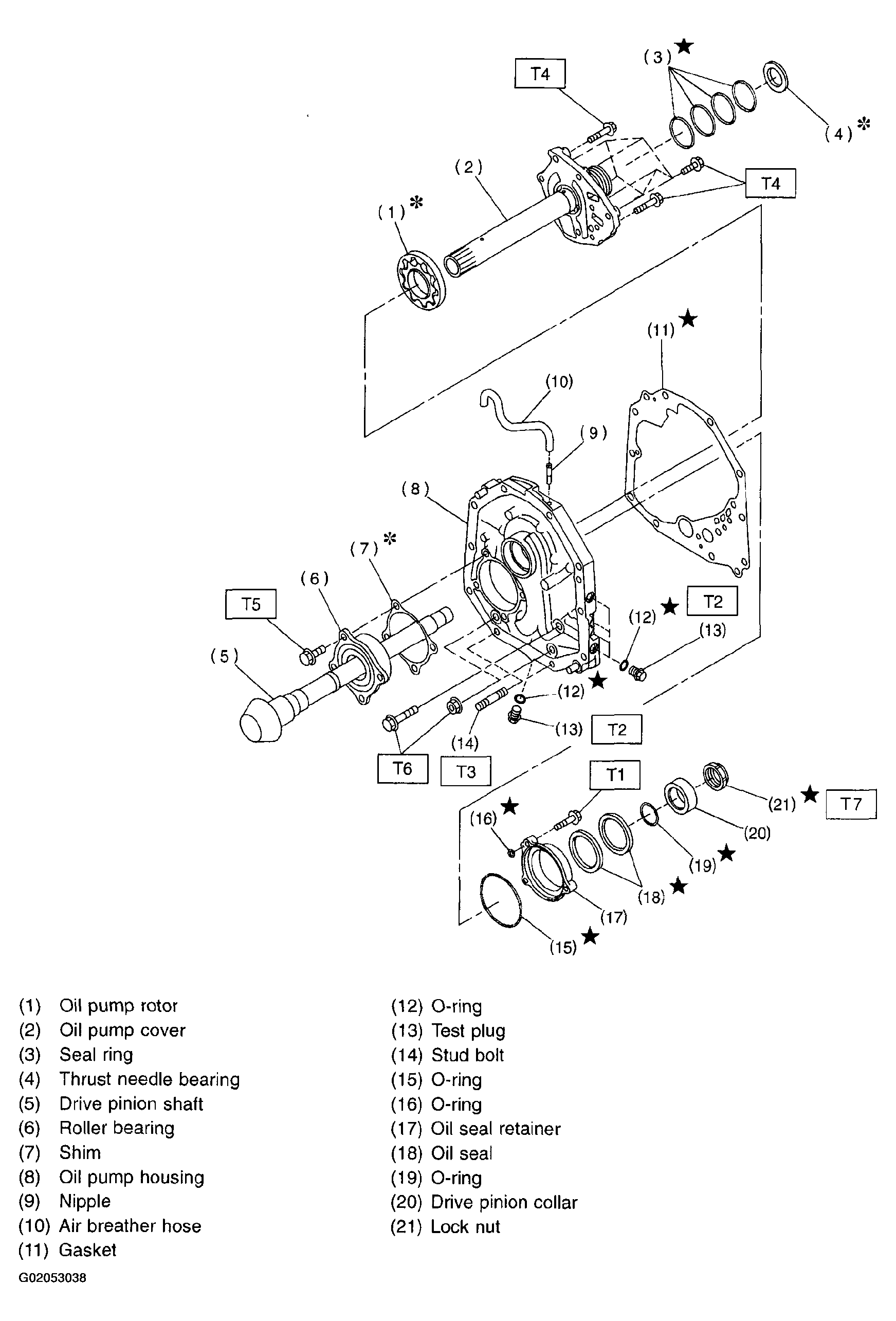
Oil Pump

Tightening torque: N.m (kgf-m, ft-lb) 

  1. T1:  7 (0.7, 5.1)
  2. T2:  13 (1.3, 9.4)
  3. T3:  18 (1.8, 13.0)
  4. T4:  25 (2.5, 18.1)
  5. T5:  39 (4.0, 28.9)
  6. T6:  41 (4.2, 30.4)
  7. T7:  121 (12.3, 89.0)
Fig 1: Exploded View Of Oil Pump
G02053038