lemon-mirror:
Home >> Subaru >> 2001 >> Outback Base, Standard >> Repair and Diagnosis >> Transmission >> Manual Transmission >> Main Shaft Assembly >> Installation

Main Shaft Assembly: Installation

  1. Install the needle bearing and oil seal onto the front of transmission main shaft assembly.
    CAUTION:
    • Wrap clutch splined section with vinyl tape to prevent damage to oil seal.
    • Apply grease (Unilube #2 or equivalent) to the sealing lip of oil seal.
    • Use a new one.
    NOTE:
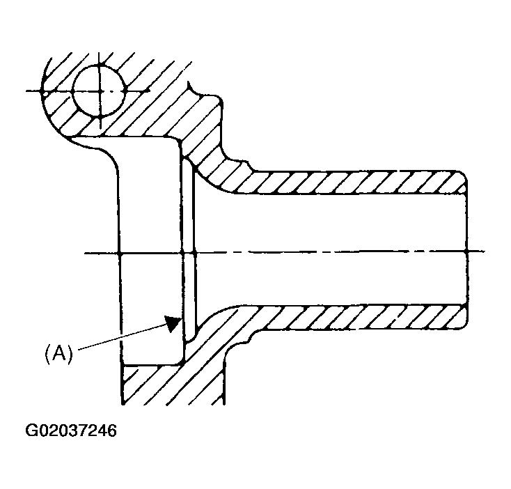
    • Align the end face of seal with surface (A) when installing oil seal.
      Fig 1: Aligning the end face of seal with surface (A)
      G02037246
    • Be careful not to drop oil seal when installing transmission main case.
    • Make sure straight pin is positioned in hole in needle bearing's outer race.
  2. Install the drive pinion assembly. See Drive Pinion Shaft Assembly  .
  3. Install transmission case. See Transmission Case  .
  4. Install transfer case with extension case assembly. See Transfer Case and Extension Case Assembly  .
  5. Install the manual transmission assembly from vehicle. See Manual Transmission Assembly  .