lemon-mirror:
Home >> Subaru >> 2001 >> Outback VDC >> Repair and Diagnosis >> Engine Performance >> Engine Control Systems >> Fuel System (3.0L) >> Fuel Filler Pipe >> Installation

Fuel Filler Pipe: Installation

  1. Hold fuel filler flap open.
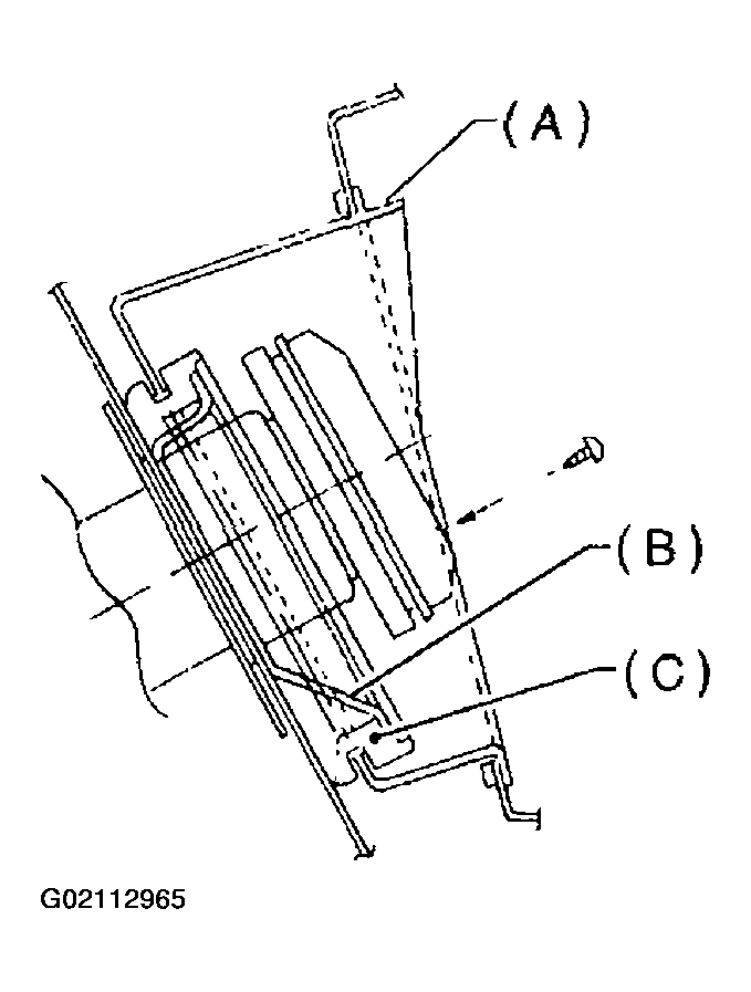
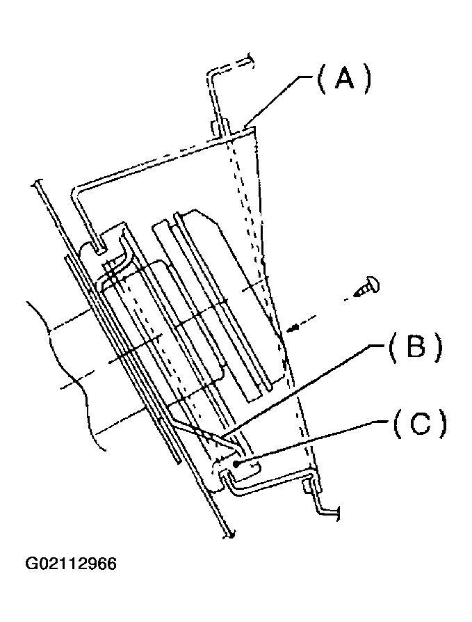
  2. Set fuel saucer (A) with rubber packing (C) and insert fuel filler pipe into hole from the inner side of apron.
    Fig 1: Setting Fuel Saucer With Rubber Packing
    G02112965
  3. Align holes in fuel filler pipe neck and set cup (B), and tighten screws.
    NOTE: If edges of rubber packing are folded toward the inside, straighten it with a screwdriver.
    Fig 2: Aligning Holes In Fuel Filler Pipe Neck & Setting Cup
    G02112966
  4. Tighten bolt which holds fuel filler pipe on body.
    1. Tightening torque:  7.5 N.m (0.75 kgf-m, 5.4 ft-lb)
    Fig 3: Tightening Bolt Holding Fuel Filler Pipe
    G02112967
  5. Insert evaporation hose (O) approximately 25 to 30 mm (0.98 to 1.18 in) into the lower end of evaporation pipe and hold clip.
    Fig 4: Inserting Evaporation Hose Into Lower End Of Evaporation Pipe & Hold Clip
    G02112968
    1. L = 27.5+/-2.5 mm (1.083+/-0.098 in) 
    Fig 5: Identifying Evaporator Hose Position
    G02112969
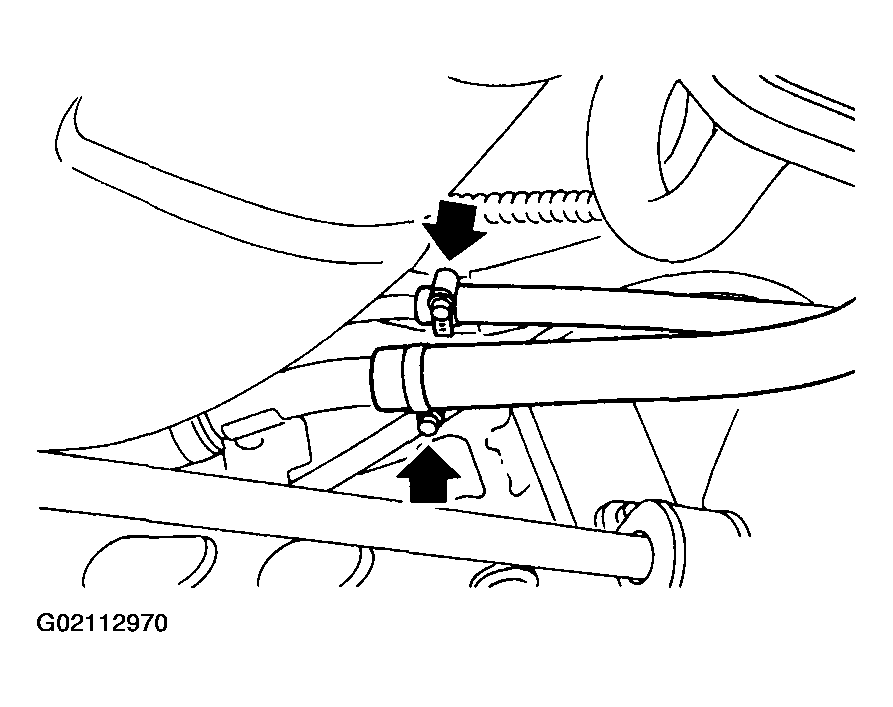
  6. Insert canister hoses approximately 25 to 30 mm (0.98 to 1.18 in) into the lower end of evaporation pipe assembly and tighten clamp.
    Fig 6: Inserting Canister Hoses
    G02112970
    1. L = 27.5+/-2.5 mm (1.083+/-0.098 in) 
    Fig 7: Inserting Vent & Evaporator Hoses
    G02112971
  7. Tighten bolt which holds evaporation pipe assembly on body.
    1. Tightening torque:  7.5 N.m (0.75kgf-m, 5.4 ft-lb)
    Fig 8: Tightening Bolt Holding Evaporation Pipe Assembly On Body
    G02112972
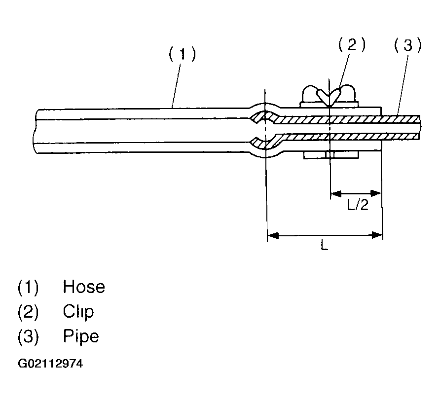
  8. Insert air vent hose (A), evaporation hose (H) approximately 25 to 30 mm (0.98 to 1.18 in) into the lower end of evaporation pipe assembly and hold clip.
  9. Insert evaporation hose (I) to pressure control solenoid valve and hold clip.
    Fig 9: Inserting Air Vent Hose, Evaporation Hose Into Lower End Of Evaporation Pipe Assembly & Holding Clip
    G02112973
    1. L = 27.5+/-2.5 mm (1.083+/-0.098 in) 
    Fig 10: Identifying Hose Positions
    G02112974
  10. Tighten bolt which holds fuel filler pipe on body and tighten bolt which holds fuel pressure sensor on fuel filler pipe.
    • Tightening torque:  7.5 N.m (0.75 kgf-m, 5.4 ft-lb)
  11. Insert fuel filler hose approximately 35 to 40 mm (1.38 to 1.57 in) over the lower end of fuel filler pipe and tighten clamp.
    Fig 11: Inserting Fuel Filler Hose Over Lower End Of Fuel Filler Pipe
    G02112975
  12. Jack-up the rear sub frame and tighten bolts which hold rear sub frame on body.

    Tightening torque: 

    1. T1:  66 N-m (6.7 kgf-m, 48.5 ft-lb)
    2. T2:  172 N.m (17.5 kgf-m, 127 ft-lb)
    Fig 12: Tightening Bolts T1 & T2
    G02112976
  13. Tighten bolt which holds rear shock absorber to rear suspension arm. See INSTALLATION , Rear Shock Absorber.
    1. Tightening torque:  157 N.m (16 kgf-m, 116 ft-lb)
    Fig 13: Tightening Rear Shock Absorber Bolt
    G02112977
  14. Install heat shield cover.
    Fig 14: Installing Heat Shield Cover
    G02112978
  15. Install rear exhaust pipe and muffler.
    NOTE: To facilitate the procedure, apply a coat of SUBARU CRC to matching area of rubber cushions in advance.
    1. SUBARU CRC (Part No. 004301003) 
    1. Install left and right rubber cushions.
      Fig 15: Installing Left & Right Rubber Cushions
      G02112979
    2. Install front rubber cushion and attach muffler assembly.
      Fig 16: Installing Front Rubber Cushion & Attaching Muffler
      G02112980
    3. Install rear exhaust pipe to center exhaust pipe.
      1. Tightening torque:  18 N.m (1.8 kgf-m, 13.0 ft-lb)
      Fig 17: Installing Rear Exhaust Pipe To Center Exhaust Pipe
      G02112981
  16. Install fuel filler pipe protector.
    Fig 18: Installing Fuel Filler Pipe Protector
    G02112982
  17. Install rear right wheel.
    Fig 19: Installing Rear Right Wheel
    G02112983
  18. Lower the vehicle.
  19. Tighten wheel nuts.
  20. Connect battery ground terminal.
    Fig 20: Connecting Battery Ground Terminal
    G02112984
  21. Remove fuel filler pipe to under side of the vehicle.