lemon-mirror:
Home >> Subaru >> 2001 >> Outback VDC >> Repair and Diagnosis >> Engine Performance >> Engine Control Systems >> Fuel System (3.0L) >> Fuel Filler Pipe >> Removal

Fuel Filler Pipe: Removal

WARNING:
  • Place "NO FIRE" signs near the working area.
  • Be careful not to spill fuel on the floor.
  1. Set the vehicle on the lift.
  2. Disconnect battery ground cable.
    Fig 1: Disconnecting Battery Ground Cable
    G02112942
  3. Open fuel filler flap lid and remove filler cap.
    Fig 2: Removing Filler Cap
    G02112943
  4. Remove screws holding packing in place.
    Fig 3: Removing Packing Screws
    G02112944
  5. Lift-up the vehicle.
  6. Remove rear wheel nuts.
  7. Remove rear wheel.
    Fig 4: Removing Rear Wheel
    G02112945
  8. Remove front right side fuel tank cover.
    Fig 5: Removing Front Right Side Fuel Tank Cover
    G02112946
  9. Drain fuel from fuel tank. Set a container under the vehicle and remove drain plug from fuel tank.
    Fig 6: Draining Fuel From Fuel Tank
    G02112947
  10. Tighten fuel drain plug and then install front right side tank cover.
    1. Tightening torque:  26 N.m (2.65 kgf-m, 19.2 ft-lb)
    Fig 7: Tightening Fuel Drain Plug
    G02112948
    1. Tightening torque:  18 N.m (1.8 kgf-m, 13.0 ft-lb)
    Fig 8: Installing Front Right Side Tank Cover
    G02112949
  11. Remove rear exhaust pipe and muffler.
    NOTE: To facilitate removal, apply a coat of SUBARU CRC to matching area of rubber cushions in advance.
    1. SUBARU CRC (Part No. 004301003) 
    1. Separate rear exhaust pipe from center exhaust pipe.
      Fig 9: Separating Rear Exhaust Pipe From Center Exhaust Pipe
      G02112950
    2. Remove left and right rubber cushions.
      CAUTION: Be careful not to pull down muffler.
      Fig 10: Removing Left & Right Rubber Cushions
      G02112951
    3. Remove front rubber cushion and detach muffler assembly.
      Fig 11: Detaching Muffler Assembly
      G02112952
  12. Remove heat sealed cover.
    Fig 12: Removing Heat Sealed Cover
    G02112953
  13. Place transmission jack under sub frame.
    Fig 13: Placing Transmission Jack Under Sub Frame
    G02112954
  14. Remove bolt which holds rear shock absorber to rear suspension arm.
    Fig 14: Removing Rear Shock Absorber Bolt
    G02112955
  15. Remove bolts which hold rear sub frame on body.
    Fig 15: Removing Rear Sub Frame Bolts
    G02112956
  16. Lower the rear sub frame.
    CAUTION: Be sure to lower sub frame slowly.
    1. A = 150 mm (5.91 in) 
    Fig 16: Lowering Rear Sub Frame
    G02112957
  17. Remove fuel filler pipe protector.
    Fig 17: Removing Fuel Filler Pipe Protector
    G02112958
  18. Disconnect air vent hose (A) and evaporation hose (H) from evaporation pipe assembly.
  19. Disconnect evaporation hose (I) from pressure control solenoid valve.
    Fig 18: Disconnecting Air Vent Hose & Evaporation Hose From Evaporation Pipe Assembly
    G02112959
  20. Remove bolt which holds evaporation pipe assembly on body.
    Fig 19: Removing Bolt Holding Evaporation Pipe
    G02112960
  21. Disconnect fuel filler hose.
  22. Remove bolt which holds fuel pressure sensor on fuel filler pipe and remove bolt which holds fuel filler pipe on body.
    Fig 20: Removing Fuel Pressure Sensor & Fuel Filler Bolts
    G02112961
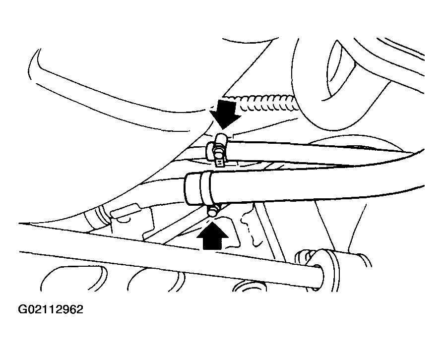
  23. Disconnect canister hose from evaporation pipe assembly.
    Fig 21: Disconnecting Canister Hose
    G02112962
  24. Disconnect evaporation hose (O) from fuel filler pipe.
    Fig 22: Disconnecting Evaporation Hose From Fuel Filler Pipe
    G02112963
  25. Remove bolt which holds fuel filler pipe to body.
    Fig 23: Removing Bolt Holding Fuel Filler Pipe
    G02112964
  26. Remove fuel filler pipe to under side of the vehicle.