lemon-mirror:
Home >> Subaru >> 2001 >> Outback VDC >> Repair and Diagnosis >> Engine Performance >> Engine Control Systems >> Fuel System (3.0L) >> Fuel Tank >> Installation

Fuel Tank: Installation

  1. Support fuel tank with transmission jack and push fuel tank harness into access hole with grommet.
  2. Set fuel tank and temporarily tighten bolts of fuel tank bands.
    WARNING: A helper is required to perform this work.
    Fig 1: Temporarily Tightening Fuel Tank Bands
    G02112915
  3. Connect air vent hose (A) to evaporation pipe assembly and connect evaporation hose (I) to pressure control solenoid valve.
    Fig 2: Connecting Air Vent Hose To Evaporation Pipe Assembly & Evaporation Hose
    G02112916
  4. Connect fuel filler hose (A) and fuel tank pressure sensor hose (B).
    Fig 3: Connecting Fuel Filler Hose & Fuel Tank Pressure Sensor Hose
    G02112917
  5. Tighten band mounting bolts.
    1. Tightening torque:  33 N.m (3.4 kgf-m, 25 ft-lb)
    Fig 4: Tightening Band Mounting Bolts
    G02112918
  6. Install rear side fuel tank cover.
    1. Tightening torque:  18 N.m (1.8 kgf-m, 13.0 ft-lb)
    Fig 5: Installing Rear Side Fuel Tank Covers
    G02112919
  7. Install rear suspension assembly.
    WARNING: A helper is required to perform this work.
    1. Support rear suspension assembly and then tighten bolts which secure rear suspension assembly.

      Tightening torque: 

      1. T1:  172 N.m (17.5 kgf-m, 127 ft-lb)
      2. T2:  108 N.m (11.0 kgf-m, 80 ft-lb)
      3. T3:  66 N.m (6.7 kgf-m, 48 ft-lb)
      Fig 6: Installing Rear Suspension Assembly
      G02112920
    2. Tighten bolt which holds rear shock absorber to rear suspension arm. See INSTALLATION , Link Upper.

      Tightening torque:  157 N.m (16 kgf-m, 116 ft-lb)

      Fig 7: Tightening Rear Shock Absorber Bolt
      G02112921
  8. Connect brake pipes to wheel cylinder, (Rear drum brake model). See DISC & DRUM .
    Fig 8: Connecting Brake Pipes To Wheel Cylinder, (Rear Drum Brake Model)
    G02112922
  9. Install rear brake caliper, (Rear disk brake model). See DISC & DRUM .
    Fig 9: Installing Rear Brake Caliper (Rear Disk Brake Model)
    G02112923
  10. Tighten bolt which holds rear brake hoses holding bracket.
    1. Tightening torque:  33 N.m (3.4 kgf-m, 25 ft-lb)
    Fig 10: Tightening Rear Brake Hoses Holding Bracket Bolt
    G02112924
  11. Install parking brake cable to cabin by forcibly pushing it forward.
  12. Tighten bolts which hold parking brake cable holding bracket.
    1. Tightening torque:  18 N.m (1.8 kgf-m, 13.0 ft-lb)
    Fig 11: Tightening Parking Brake Cable Holding Bracket (1 Of 2)
    G02112925
    1. Tightening torque:  32 N.m (3.3 kgf-m, 23.9 ft-lb)
    Fig 12: Tightening Parking Brake Cable Holding Bracket (2 Of 2)
    G02112926
  13. Connect connector to ABS sensor.
    Fig 13: Connecting Connector To ABS Sensor
    G02112927
  14. Install propeller shaft. See INSTALLATION , Propeller Shaft.
  15. Install rear exhaust pipe and muffler.
    NOTE: To facilitate the procedure, apply a coat of SUBARU CRC to matching area of rubber cushions in advance.
    1. SUBARU CRC (Part No. 004301003) 
    1. Install left and right rubber cushions.
      Fig 14: Installing Left & Right Rubber Cushions
      G02112928
    2. Install front rubber cushion and attach muffler assembly.
      Fig 15: Installing Front Rubber Cushion & Attach Muffler Assembly
      G02112929
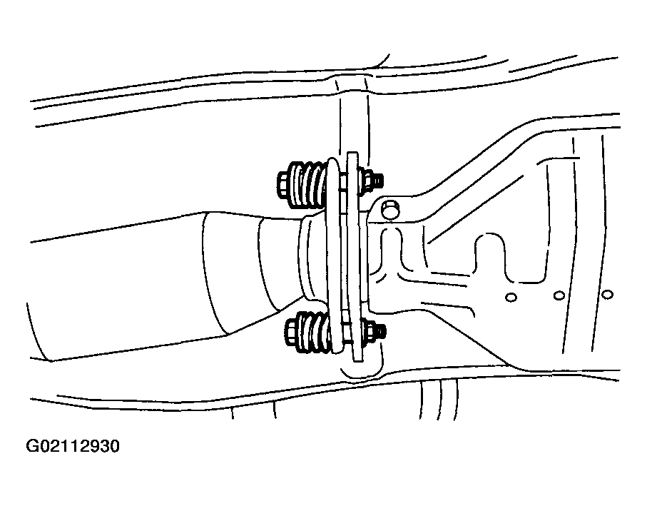
    3. Install rear exhaust pipe to center exhaust pipe.
      1. Tightening torque:  18 N.m (1.8 kgf-m, 13.0 ft-lb)
      Fig 16: Installing Rear Exhaust Pipe To Center Exhaust Pipe
      G02112930
  16. Install front side fuel tank cover.
    1. Tightening torque:  18 N.m (1.8 kgf-m, 13.0 ft-lb)
    Fig 17: Installing Front Side Fuel Tank Cover
    G02112931
  17. Install rear wheel.
  18. Lower the vehicle.
  19. Tighten wheel nuts to rear wheel.
  20. Install parking brake cable. See INSTALLATION , Parking Brake Lever.
    Fig 18: Installing Parking Brake Cable
    G02112932
  21. Install console box. See INSTALLATION , Console Box.
  22. Connect fuel hoses and hold them with quick connector. See INSTALLATION  , Fuel Delivery, Return and Evaporation Lines.
    Fig 19: Connecting Fuel Hoses
    G02112933
  23. Connect evaporation pipe (A) and hold it with quick connector. See INSTALLATION  , Fuel Delivery, Return and Evaporation Lines.
    Fig 20: Connecting Evaporation Pipe
    G02112934
  24. Connect fuel jet pump hose.
    Fig 21: Connecting Fuel Jet Pump Hose
    G02112935
  25. Install trunk room trim. (Sedan model)
  26. Install luggage room trim. (Wagon model)
  27. Connect fuel jet pump hose.
    Fig 22: Connecting Fuel Jet Pump Hose
    G02112936
  28. Connect connector to fuel sub level sensor.
    Fig 23: Connecting Connector To Fuel Sub Level Sensor
    G02112937
  29. Install sub service hole cover.
    Fig 24: Installing Sub Service Hole Cover
    G02112938
  30. Connect connectors to fuel tank cord and plug service hole with grommet.
    Fig 25: Connecting Connectors To Fuel Tank Cord
    G02112939
  31. Install holder clip which secures fuel tank cord on bracket.
    Fig 26: Installing Holder Clip
    G02112940
  32. Set rear seat and floor mat.
  33. Connect connector to fuel pump relay.
    Fig 27: Connecting Connector To Fuel Pump Relay
    G02112941
  34. Bleed air from brake system, (Rear drum brake model only). See BLEEDING BRAKE SYSTEM .
  35. Adjust parking brake lever stroke. See ADJUSTMENT , Parking Brake Assembly (Rear Disc Brake).
  36. Check wheel alignment and adjust if necessary. See INSPECTION , Wheel Alignment.