lemon-mirror:
Home >> Subaru >> 2002 >> Forester Base >> Repair and Diagnosis >> Body & Frame >> Exterior/Interior Trim >> Instrument Panel Assembly >> Removal

Instrument Panel Assembly: Removal

Airbag system wiring harness is routed near combination meter.

CAUTION:
  • All airbag system wiring harness and connectors are colored yellow. Do not use electrical test equipment on these circuits. 
  • Be careful not to damage airbag system wiring harness when servicing the instrument panel. 
  1. Disconnect ground cable from battery.
  2. Remove shift knob and drive select lever. (MT model)
  3. Remove console cover (A) and front cover (B).
    Fig 1: Removing Console Cover & Front Cover
    G02864067Courtesy of SUBARU OF AMERICA, INC.
  4. Remove console box.
    Fig 2: Removing Console Box
    G02864068Courtesy of SUBARU OF AMERICA, INC.
  5. Remove lower cover and then disconnect connector.
    Fig 3: Removing Lower Cover
    G02864069Courtesy of SUBARU OF AMERICA, INC.
  6. Disconnect data link connector (A) from lower cover.
    Fig 4: Disconnecting Data Link Connector From Lower Cover
    G02864070Courtesy of SUBARU OF AMERICA, INC.
  7. Remove knee panel.
    Fig 5: Removing Knee Panel
    G02864071Courtesy of SUBARU OF AMERICA, INC.
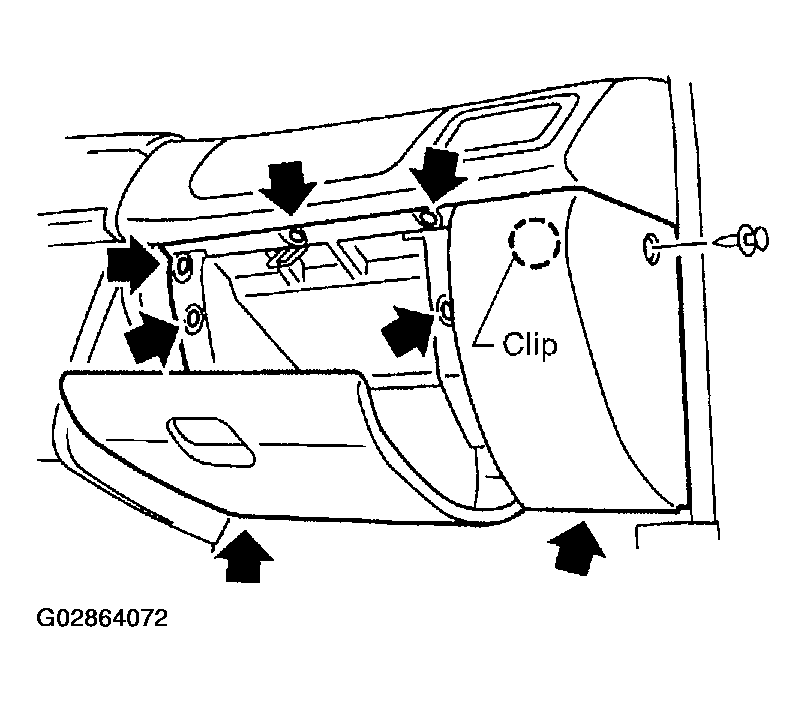
  8. Remove glove box.
    Fig 6: Removing Glove Box
    G02864072Courtesy of SUBARU OF AMERICA, INC.
  9. Remove center panel and disconnect connector.
  10. Remove audio.
    Fig 7: Removing Audio
    G02864073Courtesy of SUBARU OF AMERICA, INC.
  11. Remove two bolts and lower steering column.
    Fig 8: Removing Two Bolts & Lower Steering Column
    G02864074Courtesy of SUBARU OF AMERICA, INC.
  12. Set temperature control switch to "FULL HOT", mode selector switch to "DEF" position and recirc switch to "FRESH" position.
  13. Disconnect temperature control cable and mode control cable from heater unit then disconnect recirc control cable from intake unit.
    NOTE: Do not move switches and link when installing.
    Fig 9: Disconnecting Temperature Control Cable & Mode Control Cable
    G02864075Courtesy of SUBARU OF AMERICA, INC.
  14. Disconnect harness connectors and then remove the installing bolts and nuts.
    CAUTION: Be sure to hold socket section and not harness when disconnecting. 
    NOTE: Put matching mark, if necessary, for easy reassembly.
    Fig 10: Disconnecting Harness Connectors
    G02864076Courtesy of SUBARU OF AMERICA, INC.
  15. Remove front defroster grille and two bolts.
    Fig 11: Removing Front Defroster Grille & Two Bolts
    G02864077Courtesy of SUBARU OF AMERICA, INC.
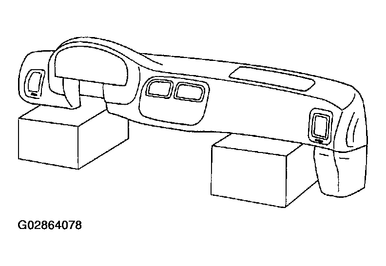
  16. Remove instrument panel carefully from the body.
    CAUTION:
    • Do not pull the harness when disconnecting the connector. 
    • Take care not to scratch the instrument panel and related parts. 
    • When storing removed instrument panel with passenger airbag module, place it standing up on the floor. 
    Fig 12: Removing Instrument Panel
    G02864078Courtesy of SUBARU OF AMERICA, INC.