lemon-mirror:
Home >> Subaru >> 2002 >> Forester Base >> Repair and Diagnosis >> Body & Frame >> Exterior/Interior Trim >> Protector >> Removal

Exterior/Interior Trim: Protector: Removal

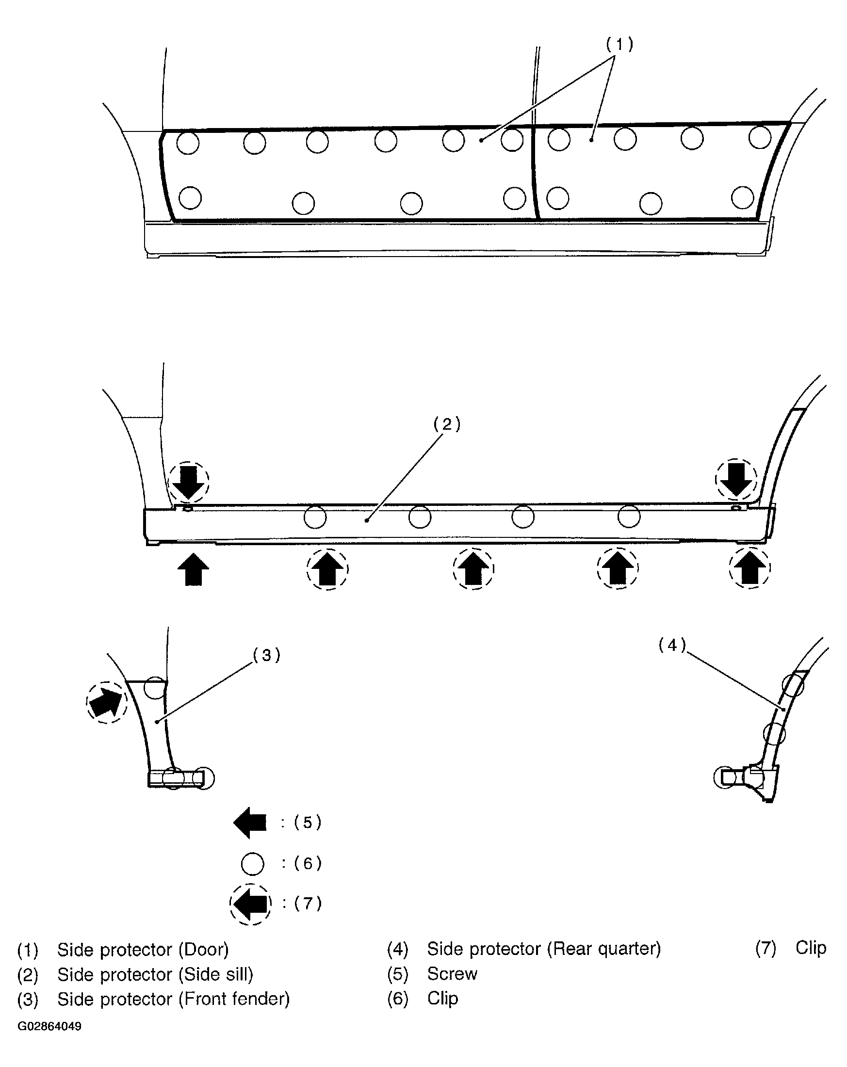
Fig 1: Locating Protectors
G02864049Courtesy of SUBARU OF AMERICA, INC.
  1. Attach masking tape (A) on the upper painted area of the protector.
    Fig 2: Attaching Masking Tape On Upper Painted Area Of Protector
    G02864050Courtesy of SUBARU OF AMERICA, INC.
  2. Release clip engagement using clip remover, and remove the protector while peeling off two-sided tape.
    Fig 3: Removing Protector Peeling Off Two-Sided Tape
    G02864051Courtesy of SUBARU OF AMERICA, INC.
    NOTE:
    • To increase adhesive remover strength, leave two-sided tape on body and side protector.
    • If two-sided tape is too thick, use a putty knife to cut it thin so that adhesive remover is ready for use.
    • If two-sided tape is hard to remove, heat to approximately 40°C (104°F).
  3. Apply an even coat of adhesive remover to the two-sided tape.
    1. Recommended adhesive remover:  SUMITOMO 3M4000 or equivalent
    CAUTION: Do not apply adhesive remover to lacquer base coated body panels. 
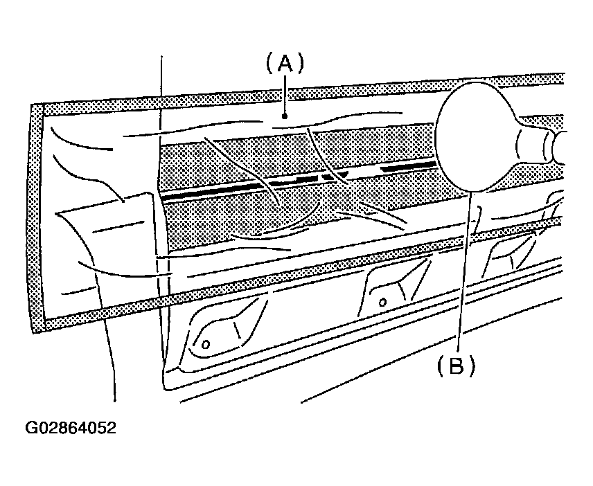
  4. Attach plastic wrap (A) to adhesive remover coated areas and heat to 40 to 60°C (104 to 140°F) for 5 to 10 minutes using an infrared lamp (B).
    CAUTION: Do not overheat until plastic wrap is somewhat white. 
    Fig 4: Attaching Plastic Wrap To Adhesive Remover Coated Areas
    G02864052Courtesy of SUBARU OF AMERICA, INC.
  5. Using a plastic spatula, remove traces of two-sided tape from body panel.
  6. Remove masking tape and clean traces of two-sided tape using a cloth dampened with white gasoline.
  7. Similarly, clean traces of adhesive from two-sided tape on side protector.
CAUTION: Make sure side protector is clean and free of adhesive remover. Clean if necessary.