lemon-mirror:
Home >> Subaru >> 2002 >> Forester Base >> Repair and Diagnosis >> Body & Frame >> Windows >> Glass/Window/Mirrors >> Front Door Glass >> Adjustment

Front Door Glass: Adjustment

NOTE: Before adjustment, ensure that all adjusting bolts of stabilizer, upper stopper, and sash are loose and door glass is raised so that it is in contact with weatherstrip.
  1. Temporarily tighten one adjusting bolt on one side of rear sash at the midpoint of slotted hole in the inner panel.
  2. Temporarily tighten regulator B-channel in a position slightly lower than midpoint of slotted hole.
  3. Lower door glass 10 to 15 mm (0.39 to 0.59 in) from fully closed position. While applying outward pressure of 44.1+/-5.0 N (4.5+/-0.51 kgf, 9.9+/-1.12 lb) (F) to upper edge of glass above midpoint of two outer stabilizers, press inner stabilizer until it just touches the glass, then secure it.
    Fig 1: Pressing Inner Stabilizer Until It Touches Glass
    G02863861Courtesy of SUBARU OF AMERICA, INC.
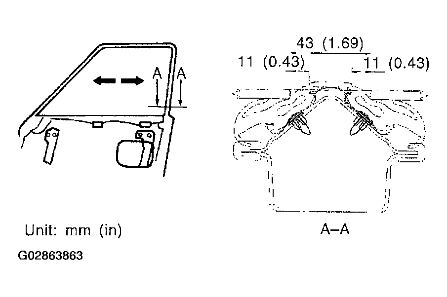
  4. For adjustment of clearance between front and rear glasses, loosen nuts (A), and move glass sash back and forward until clearance becomes the value shown.
    Fig 2: Adjusting Clearance Between Front & Rear Glasses (1 Of 2)
    G02863862Courtesy of SUBARU OF AMERICA, INC.
    Fig 3: Adjusting Clearance Between Front & Rear Glasses (2 Of 2)
    G02863863Courtesy of SUBARU OF AMERICA, INC.
  5. For adjustment of upper and lower ends of center pillar, loosen adjusting nut (A).
    Fig 4: Adjusting Of Upper & Lower Ends Of Center Pillar
    G02863864Courtesy of SUBARU OF AMERICA, INC.
  6. Adjust so that upper and lower ends of center pillar are the same size.
    Fig 5: Adjusting Upper & Lower Ends Of Center Pillar To Same Size
    G02863865Courtesy of SUBARU OF AMERICA, INC.
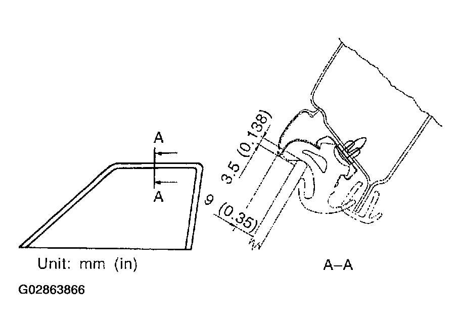
  7. For glass stroke adjustment, close door, raise glass until positional relationship between glass and weatherstrip becomes as shown. And secure the glass so that upper stopper lightly touches the glass holder.
    Fig 6: Adjusting Glass Stroke
    G02863866Courtesy of SUBARU OF AMERICA, INC.
  8. After stabilizer adjustment, carry out glass crimp adjustment. First, visually ensure positional relationship between retainer & molding and glass of the roof side, and then begin with rear sash adjustment. Adjust two adjusting bolts alternately step by step to obtain dimensions shown below (cross-section A).
    NOTE: If two nuts are loosened at the same time, sash moves back and forth. Therefore, when one nut is adjusted, secure the other.
  9. Make the same adjustment of two adjusting bolts of rear sash.
    Fig 7: Adjusting Bolts Of Rear Sash (1 Of 2)
    G02863867Courtesy of SUBARU OF AMERICA, INC.
    CAUTION: Do not tilt sash bracket to inner panel during adjustment. Otherwise smooth regulator operation cannot be achieved. 
    Fig 8: Adjusting Bolts Of Rear Sash (2 Of 2)
    G02863868Courtesy of SUBARU OF AMERICA, INC.
  10. Make adjustment of front sash in the same manner as that of rear sash.
    CAUTION: Although front and rear sashes must, as a rule, be adjusted in the same manner, in some door installation, the adjustment in a different manner may be required. However, adjustment of one sash to the maximum amount and the other to the minimum amount is not permitted. Such adjustment may result in application of excessive load to regulator. 
  11. After adjustments, tighten nuts.
  12. After adjustment of glass, if there is a gap between outer lip of gusset and glass surface, adjust the gap with adjusting bolt (A) in lower fitting part of gusset to prevent generation of wind noise.
  13. During adjustments, loosen other three clamping bolts.
    Fig 9: Adjusting Gap With Adjusting Bolt
    G02863869Courtesy of SUBARU OF AMERICA, INC.
  14. After adjustment, tighten bolts and nuts.