lemon-mirror:
Home >> Subaru >> 2002 >> Forester Base >> Repair and Diagnosis >> Body & Frame >> Windows >> Glass/Window/Mirrors >> Rear Gate Glass >> Installation

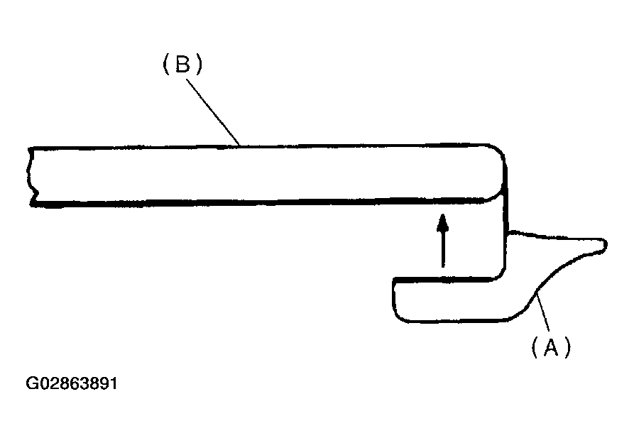
Rear Gate Glass: Installation

  1. Install a new rubber strip (A) by aligning it with the end of the rear gate glass (B).
    Fig 1: Installing Rear Gate Glass (1 Of 2)
    G02863891Courtesy of SUBARU OF AMERICA, INC.
  2. Install glass in the same procedure as for windshield glass. Refer to INSTALLATION  , Windshield Glass.
    Fig 2: Installing Rear Gate Glass (2 Of 2)
    G02863892Courtesy of SUBARU OF AMERICA, INC.
  3. About one hour after installation, conduct a leak test.
    CAUTION:
    • When door is open/closed after glass is bonded, always lower door glass and then open/close it carefully. 
    • Move vehicle slowly. 
  4. After completion of all work, allow vehicle to stand for about 24 hours.
    NOTE: For minimum drying time and time the vehicle must be left standing before driving after bonding, follow instructions or instruction manual from the adhesive manufacturer.
    CAUTION: When a vehicle is returned to the user, tell him or her that the vehicle should not be subjected to heavy impact for at least three days. 
  5. Connect rear defogger terminals.
  6. Install rear gate trim. Refer to INSTALLATION , Rear Gate Trim.
  7. Install rear wiper. Refer to INSTALLATION , Rear Wiper Motor.