lemon-mirror:
Home >> Subaru >> 2002 >> Forester Base >> Repair and Diagnosis >> Body & Frame >> Windows >> Glass/Window/Mirrors >> Rear Quarter Glass >> Installation

Rear Quarter Glass: Installation

  1. Using a putty knife, etc., cut layer of adhesive stick firmly to body and finish it into a smooth surface of about 2 mm (0.08 in) in thickness.
    CAUTION: Be careful not to damage body finish. 
    Fig 1: Cutting Layer Of Adhesive Stick Firmly To Body & Finish
    G02863894Courtesy of SUBARU OF AMERICA, INC.
  2. Remove chips, dirt and dust from body surface.
  3. Clean body wall surface and upper surface of adhesive layer with a solvent such as alcohol or white gasoline.
  4. Remove dirt and dust from surface of glass to be adhered.
  5. Clean surface of glass to be adhered with alcohol or white gasoline.
  6. Using a sponge, apply primer to surface of glass to be adhered.
  7. Apply primer to surface of body to be adhered.
    CAUTION:
    • If primer has dropped on body finish, it is hard to wipe it off. So protect with masking. 
    • Primer must not project from black frame of glass. 
    • After applying primer, let it dry naturally for about 10 minutes. 
    Fig 2: Applying Primer To Surface Of Body
    G02863895Courtesy of SUBARU OF AMERICA, INC.
  8. Cut nozzle tip as shown in the figure.
    Fig 3: Cutting Nozzle Tip
    G02863896Courtesy of SUBARU OF AMERICA, INC.
  9. Open cartridge and put it into a gun with nozzle attached.
  10. Apply adhesive uniformly to all sides of adhesion surface while operating gun along glass end face.
  11. Hold glass with rubber suction cups.
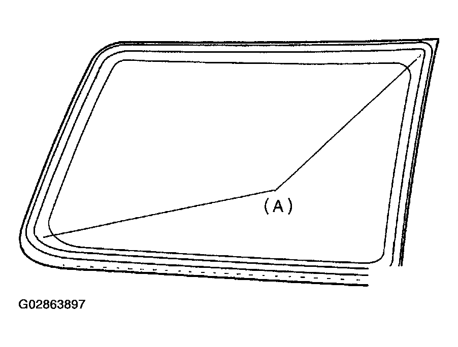
  12. Mount glass on body with matching pins (A) aligned.
    Fig 4: Mounting Glass On Body With Matching Pins Aligned
    G02863897Courtesy of SUBARU OF AMERICA, INC.
  13. Attach quickly and press all sides lightly.
    CAUTION:
    • When door is open/closed after glass is bonded, always lower door glass and then open/close it carefully. 
    • Move vehicle slowly. 
  14. After completion of all work, allow vehicle to stand for about 24 hours.
    NOTE: For minimum drying time and time the vehicle must be left standing before driving after bonding, follow instructions or instruction manual from the adhesive manufacturer.
  15. After curing of adhesive, pour water on external surface of vehicle to check that there are no water leaks.
    CAUTION: When a vehicle is returned to the user, tell him or her that the vehicle should not be subjected to heavy impact for at least three days.