lemon-mirror:
Home >> Subaru >> 2002 >> Forester Base >> Repair and Diagnosis >> Brakes >> Traction Control >> Abs >> Front ABS Sensor >> Inspection >> Sensor Gap

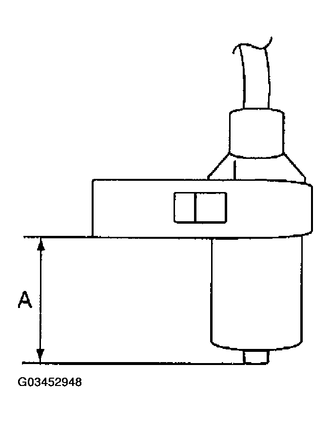
Sensor Gap

  1. Measure the distance "A" between ABS sensor surface and sensor pole face.
    Fig 1: Identifying Distance "A" Between ABS Sensor Surface And Sensor Pole Face
    G03452948Courtesy of SUBARU OF AMERICA, INC.
  2. Measure the distance "B" between surface where the front axle housing meets the ABS sensor, and the tone wheel.
    NOTE: Measure so that the gauge touches the tone wheel teeth top.
    Fig 2: Identifying Gauge Touches Tone Wheel Teeth Top Dimensions
    G03452949Courtesy of SUBARU OF AMERICA, INC.
  3. Find the gap between the ABS sensor pole face and the surface of the tone wheel teeth by putting the measured values in the formula below and calculating.

ABS sensor clearance = B - A 

ABS sensor standard clearance: 

  1. 0.3 - 0.8 mm (0.012 - 0.031 in) 
NOTE: If the clearance is outside specifications, adjust the gap using spacer (Part No. 26755AA000).