lemon-mirror:
Home >> Subaru >> 2002 >> Forester Base >> Repair and Diagnosis >> Electrical >> Gauges >> Instruments/Driver Info - Mechanism & Function >> Combination Meter >> Vehicle Speed Sensor >> Construction

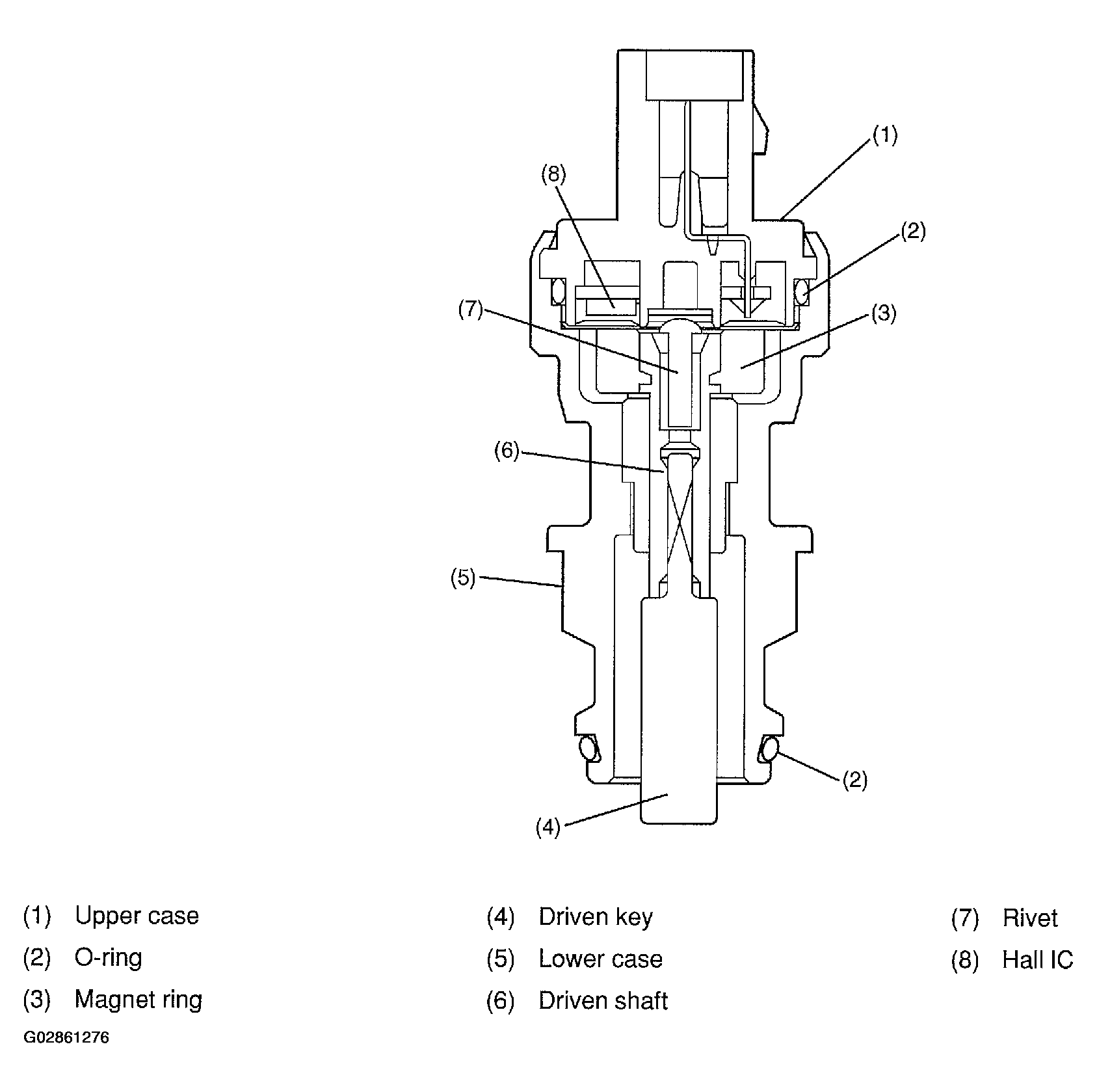
Vehicle Speed Sensor: Construction

The speed sensor mainly consists of a Hall IC, magnet ring, driven shaft and spring.

Fig 1: Identifying Vehicle Speed Sensor Construction
G02861276Courtesy of SUBARU OF AMERICA, INC.