lemon-mirror:
Home >> Subaru >> 2002 >> Forester Base >> Repair and Diagnosis >> Engine Mechanical >> Mechanical >> Intake (Induction) >> General Description >> Components

Intake (Induction): General Description: Components

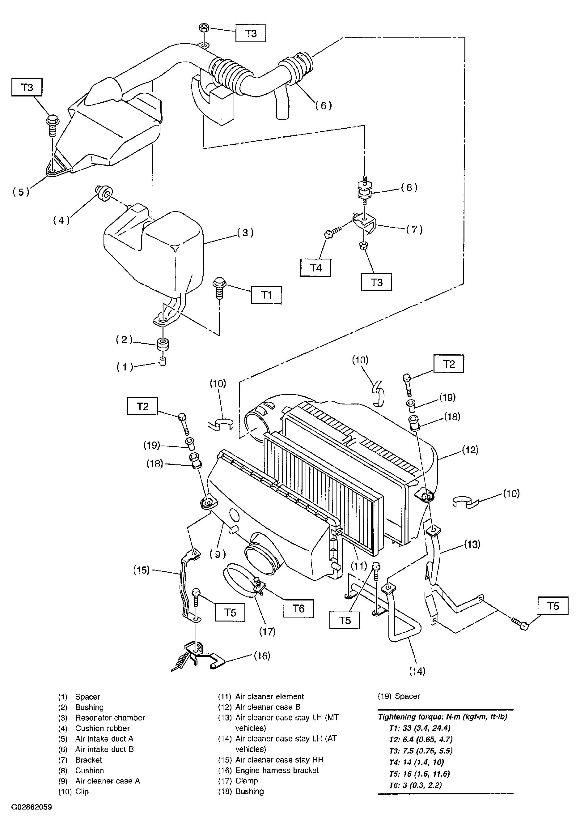
Fig 1: Identifying Intake (Induction) System Components
G02862059Courtesy of SUBARU OF AMERICA, INC.