lemon-mirror:
Home >> Subaru >> 2002 >> Forester Base >> Repair and Diagnosis >> Engine Performance >> Ignition System - Mechanism & Function >> Ignition Coil

Ignition Coil

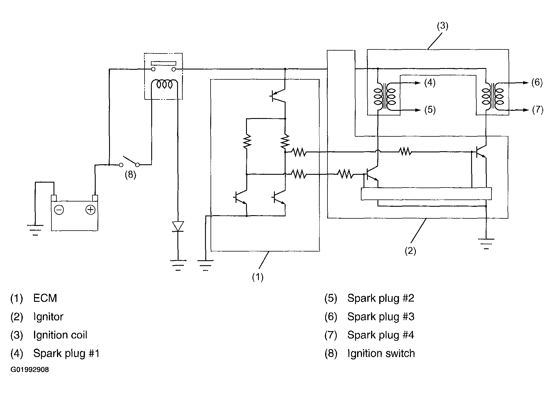
Ignition coils are made integral with an ignitor. The ignition system is of a dual-ignition-coil design, each coil causing two plugs to generate sparks simultaneously. In response to the signal from the ECM, the ignitor supplies current to an ignition coil and the ignition coil supplies high-voltage current to a pair of spark plugs (#1 and #2 or #3 and #4) simultaneously.

Fig 1: Identifying Ignition Coil
G01992907Courtesy of SUBARU OF AMERICA, INC.
Fig 2: Ignition System Schematic
G01992908Courtesy of SUBARU OF AMERICA, INC.