lemon-mirror:
Home >> Subaru >> 2002 >> Forester Base >> Repair and Diagnosis >> Engine Performance >> Specifications >> Engine Controls - Service & Adjustment Specifications >> Ignition System >> Ignition Coil

Ignition Coil

NOTE: Ignition coil resistance is not measurable on Outback 3.0L. If vehicle does not start or ignition system failure is suspect, see BASIC DIAGNOSTIC PROCEDURES article.
IGNITION COIL RESISTANCE

Application (1) Primary (2) Secondary
2.0L & 2.5L 0.73 Ohms ± 10% 12.8 k/Ohms ± 15%
(1) Checked between ignition coil and ignitor assembly connector terminals No. 1 and No. 2 and terminals No. 2 and No. 4. See Fig 1.
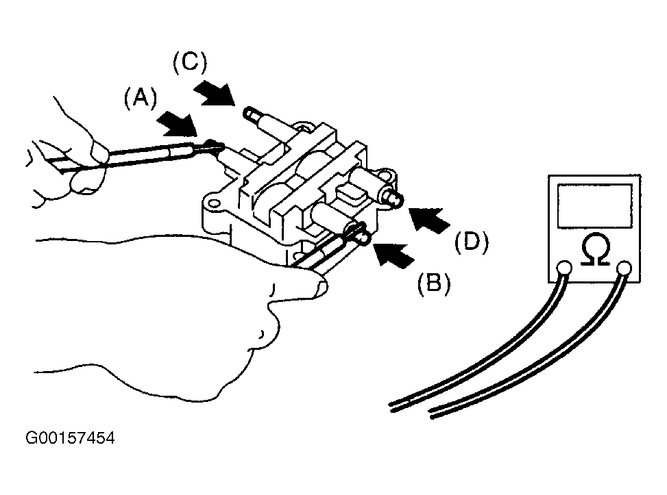
(2) Check between ignition coil secondary terminals A and B, and terminals C and D. See Fig 2.
Fig 1: Identifying Primary Ignition Coil Connector Terminals
G00157453Courtesy of SUBARU OF AMERICA, INC.
Fig 2: Identifying Secondary Ignition Coil Terminals
G00157454Courtesy of SUBARU OF AMERICA, INC.