lemon-mirror:
Home >> Subaru >> 2002 >> Forester Base >> Repair and Diagnosis >> Steering >> Power Steering >> Power Assisted System >> Steering Gearbox >> Assembly >> Control Valve Assembly

Control Valve Assembly

  1. Specified steering grease:  VALIANT GREASE M2 (Part No. 003608001)
  1. Clean all parts and tools before reassembling.
  2. Apply a coat of specified power steering fluid to inner wall of valve housing.
    Fig 1: Applying Coat Of Specified Power Steering Fluid
    G02863114Courtesy of SUBARU OF AMERICA, INC.
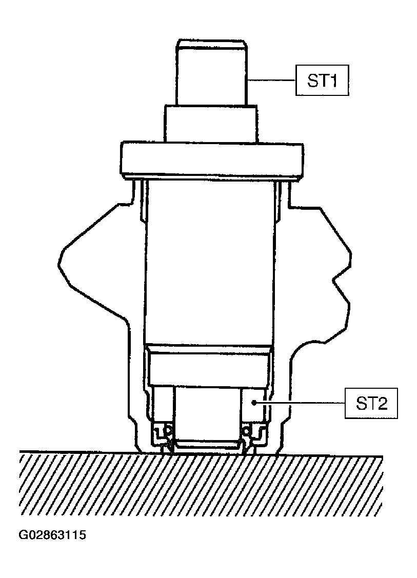
  3. Attach ST2 to ST1, and press oil seal into place using a press.

    ST1 34099FA120 SEAL INSTALLER & REMOVER

    ST2 34099FA130 SEAL INSTALLER

    1. Face oil seal in the direction shown in figure when installing.
    2. To avoid scratching oil seal, apply a coat of grease to contact surface of installer and oil seal.
    3. To facilitate installation, attach oil seal to installer and position in valve housing before pressing into place.
    Fig 2: Attaching ST2 & ST1
    G02863115Courtesy of SUBARU OF AMERICA, INC.
  4. Using ST and press, install special bearing in valve housing.

    ST 34099FA120 SEAL INSTALLER & REMOVER

    NOTE: To facilitate installation, attach ball bearing to remover and position in valve housing before pressing it into place.
    Fig 3: Installing Special Bearing In Valve Housing
    G02863116Courtesy of SUBARU OF AMERICA, INC.
  5. Put vinyl tape around pinion shaft splines to protect oil seal from damage.
  6. Fit pinion and valve assembly into valve housing.
    NOTE: Apply specified power steering fluid to outer diameter surface of input shaft and outer surface of valve body seal ring, and pay special attention not to damage seal when inserting pinion and valve assembly.
  7. Secure valve assembly to ST1 and ST2.
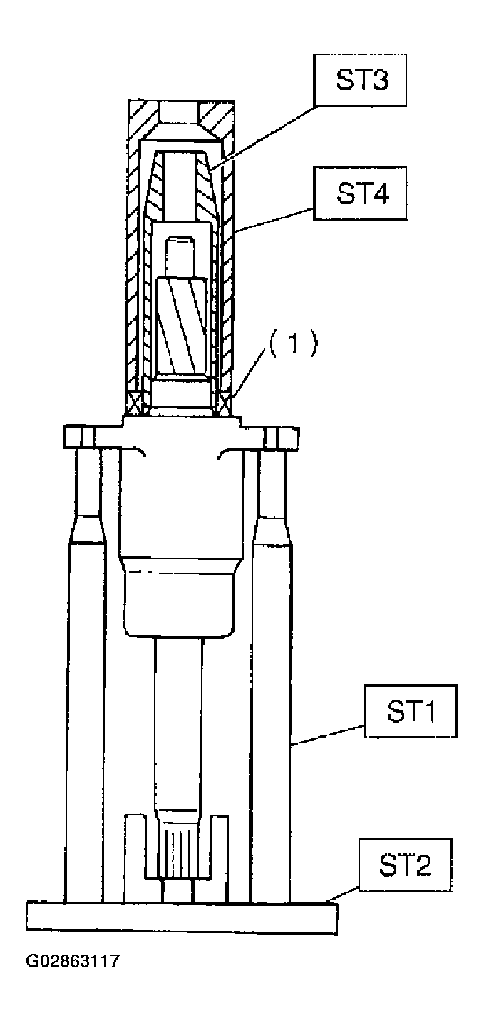
  8. Put ST3 over pinion, and insert oil seal, then force-fit oil seal into housing using ST4.

    ST1 926370000 INSTALLER A

    ST2 34099FA100 STAND BASE

    ST3 926360000 INSTALLER A

    ST4 927620000 INSTALLER B

    Fig 4: Securing Valve Assembly To ST1 & ST2
    G02863117Courtesy of SUBARU OF AMERICA, INC.
    NOTE:
    • Apply specified power steering fluid to oil seal and ST3, being careful not to damage oil seal lip.
    • Push oil seal until ST3 contacts housing end face.
  9. Remove ST3, and fit backing washer.
  10. Force-fit ball bearing using ST3.

    ST1 926370000 INSTALLER A

    ST2 34099FA100 STAND BASE

    ST3 927640000 INSTALLER B

    Fig 5: Force-Fitting Ball Bearing Using ST3
    G02863118Courtesy of SUBARU OF AMERICA, INC.
    NOTE: Be careful not to tilt ball bearing during installation.
  11. Install snap ring using snap ring pliers.
    NOTE: Rotate snap ring to check for proper installation.
  12. Apply specified grease to dust cover.
    Fig 6: Applying Specified Grease To Dust Cover
    G02863119Courtesy of SUBARU OF AMERICA, INC.
  13. Install dust cover on valve assembly.
  14. Apply genuine grease to pinion gear and bearing of valve assembly.
    Fig 7: Applying Genuine Grease To Pinion Gear
    G02863120Courtesy of SUBARU OF AMERICA, INC.
  15. Install gasket on valve assembly. Insert valve assembly into place while facing rack teeth toward pinion.
    CAUTION: Be sure to use a new gasket. 
    NOTE: Do not allow packing to be caught when installing valve assembly.
    Fig 8: Installing Gasket On Valve Assembly
    G02863121Courtesy of SUBARU OF AMERICA, INC.
  16. Tighten bolts alternately to secure valve assembly.
    1. Tightening torque:  25 N.m (2.5 kgf-m, 18.1 ft-lb)
    CAUTION: Be sure to alternately tighten bolts. 
  17. Apply grease to sleeve insertion hole.
  18. Apply grease to dust seal insertion hole.
    CAUTION: Apply clean grease with clean hands. If material having a sharp edge is used for applying grease, oil seal at the inside might be damaged. 
  19. Apply grease to sliding surface of sleeve and spring seat, then insert sleeve into pinion housing. Fit spring into sleeve screw, pack grease inside of screw, then install the screw.
    Fig 9: Applying Grease To Sliding Surface Of Sleeve & Spring Seat
    G02863122Courtesy of SUBARU OF AMERICA, INC.
  20. Rack and pinion backlash adjustment
    1. Loosen adjusting screw.
    2. Rotate input shaft so that rack is in the straight ahead direction.
    3. Apply grease to sleeve.
      Fig 10: Applying Grease To Sleeve
      G02863123Courtesy of SUBARU OF AMERICA, INC.
    4. Tighten adjusting screw by two threads.
      Fig 11: Tightening Adjusting Screw By Two Threads
      G02863124Courtesy of SUBARU OF AMERICA, INC.
    5. Apply liquid packing to at least 1/3 of entire perimeter of adjusting screw thread.
      1. Liquid packing:  THREE BOND 1141
      Fig 12: Applying Liquid Packing To Adjusting Screw Thread
      G02863125Courtesy of SUBARU OF AMERICA, INC.
    6. Tighten adjusting screw to 7.4 N.m (0.75 kgf-m, 5.4 ft-lb) and back off 25°.
    7. Install lock nut. While holding adjusting screw with a wrench, tighten lock nut using ST.

      ST 926230000 SPANNER

      1. Tightening torque (Lock nut):  39 N.m (4.0 kgf-m, 29 ft-lb)
      NOTE:
      • Hold adjusting screw with a wrench to prevent it from turning while tightening lock nut.
      • Make adjustment so that steering wheel can be rotated fully from lock to lock without binding.
  21. Check for service limit . Refer to SERVICE LIMIT  , INSPECTION, Steering Gearbox. Make replacement and adjustment if necessary.