lemon-mirror:
Home >> Subaru >> 2002 >> Forester Base >> Repair and Diagnosis >> Transmission >> Automatic Trans >> Automatic Transmission (Mechanism & Function) >> Transmission Control Module (TCM) >> AWD Transfer Clutch Control

AWD Transfer Clutch Control

Fig 1: AWD Transfer Clutch Control Function (1 Of 2)
G02861542Courtesy of SUBARU OF AMERICA, INC.
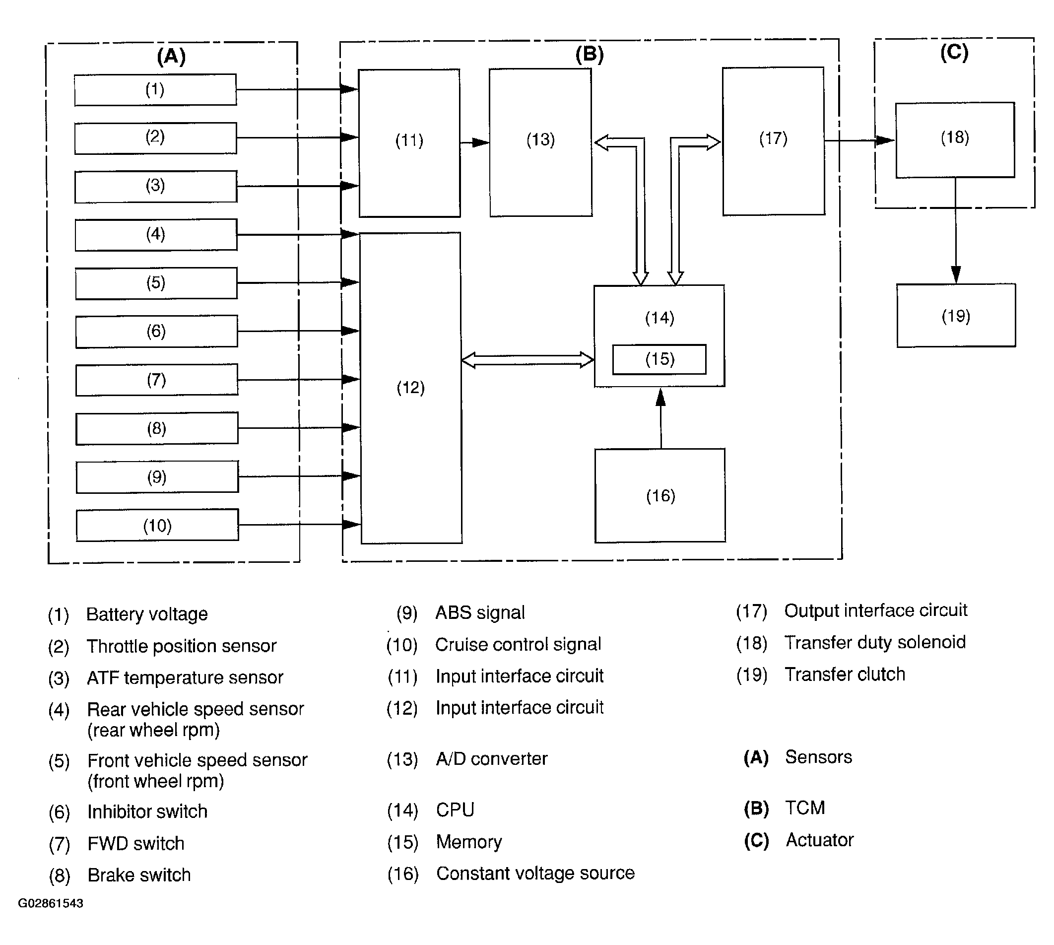
Fig 2: AWD Transfer Clutch Control Function (2 Of 2)
G02861543Courtesy of SUBARU OF AMERICA, INC.