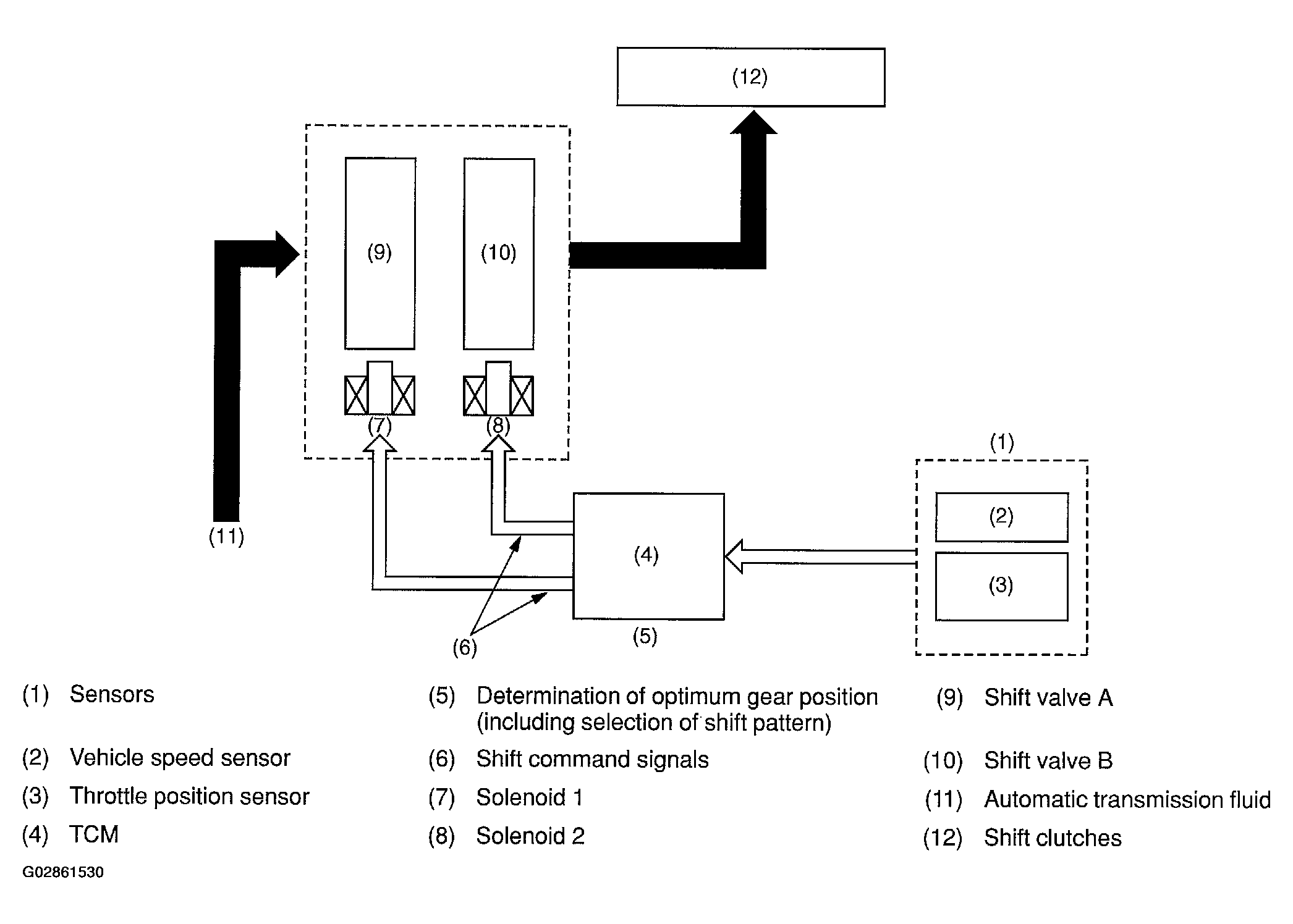
Shift Control
The TCM performs gear shifting control according to driving conditions by using the shift point characteristic data stored in its memory. Appropriate solenoids are operated at the proper timing corresponding to the shift pattern, throttle position, and vehicle speed for smooth shifting.
NOTE:
When the ATF temperature is below approximately 10°C (50°F), the gear cannot be shifted to the 4th speed.
- The TCM activates both solenoids 1 and 2 in response to throttle and vehicle speed signals.
- Shift valves move in response to operation of the solenoids, supplying or interrupting the line pressure to each clutch.
- A shift to each gear takes place according to ON-OFF operation of both the solenoids as indicated in the table above.