lemon-mirror:
Home >> Subaru >> 2002 >> Forester Base >> Repair and Diagnosis >> Transmission >> Transmission Control Systems >> A/T Control Systems >> General Description >> Component >> At Select Lever

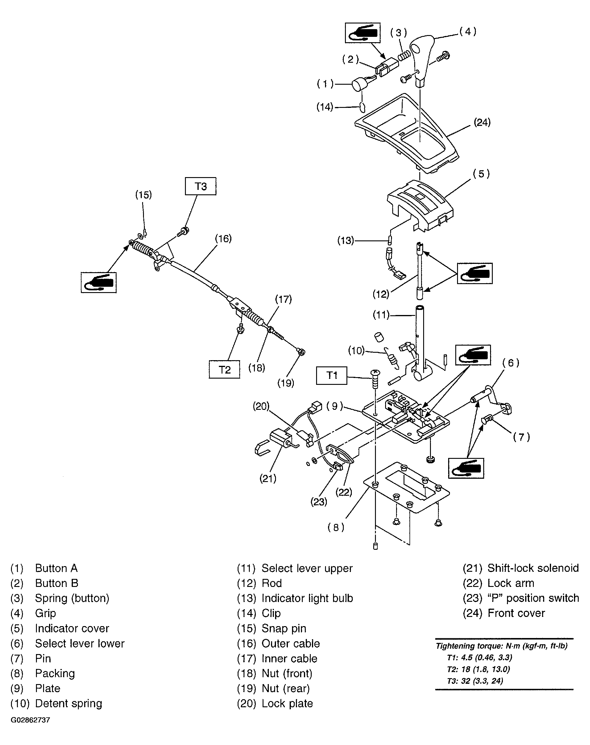
At Select Lever

Fig 1: Identifying AT Select Lever Components
G02862737Courtesy of SUBARU OF AMERICA, INC.