lemon-mirror:
Home >> Subaru >> 2002 >> Forester L, Automatic >> Repair and Diagnosis >> Engine Performance >> Engine Control Systems >> Fuel Injection (Fuel Systems) >> General Description >> Component >> Air Intake System

Air Intake System

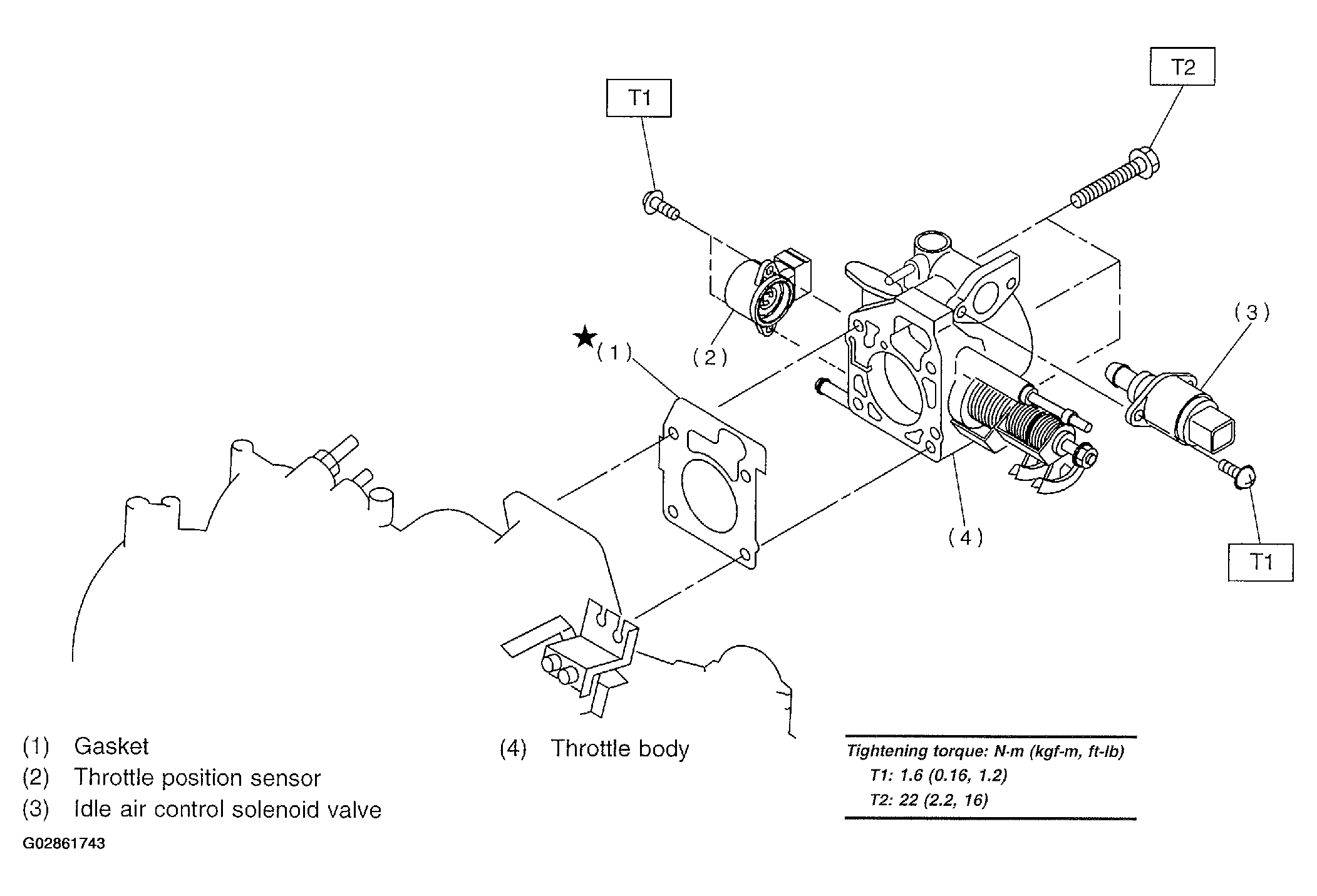
Fig 1: Identifying Air Intake System Components
G02861743Courtesy of SUBARU OF AMERICA, INC.