lemon-mirror:
Home >> Subaru >> 2002 >> Forester L, Automatic >> Repair and Diagnosis >> Engine Performance >> Engine Control Systems >> Fuel Injection (Fuel Systems) >> Knock Sensor >> Installation

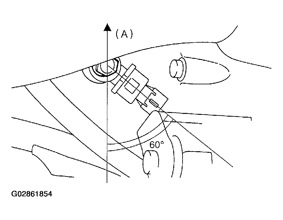
Knock Sensor: Installation

  1. Install knock sensor to cylinder block.

    Tightening torque:  24 N.m (2.4 kgf-m, 17.4 ft-lb)

    NOTE: The extraction area of the knock sensor cord must be positioned at a 60° angle relative to the engine rear.
    Fig 1: Installing Knock Sensor
    G02861854Courtesy of SUBARU OF AMERICA, INC.
  2. Connect knock sensor connector.
    Fig 2: Connecting Knock Sensor Connector
    G02861855Courtesy of SUBARU OF AMERICA, INC.
  3. Install air cleaner case.
    Fig 3: Installing Air Cleaner Case
    G02861856Courtesy of SUBARU OF AMERICA, INC.
  4. Connect battery ground cable.
    Fig 4: Connecting Battery Ground Cable
    G02861857Courtesy of SUBARU OF AMERICA, INC.