lemon-mirror:
Home >> Subaru >> 2002 >> Outback Base, 4D Sedan >> Repair and Diagnosis >> Suspension >> Wheel Alignment >> Specifications & Procedures >> Wheel Alignment >> Inspection >> Thrust Angle >> Adjustment

Thrust Angle: Adjustment

  1. Make thrust angle adjustments by turning toe-in adjusting bolts of rear suspension equally in the same direction.
  2. When one rear wheel is adjusted in a toe-in direction, adjust the other rear wheel equally in toe-out direction, in order to make thrust angle adjustment.
  3. When left and right adjusting bolts are turned incrementally by one graduation in the same direction, the thrust angle will change approximately 10' ["L" is almost equal to 7.5 mm (0.295 in)].
    1. Thrust angle:  0°+/-30'
    Fig 1: Center Line Of Front & Rear Axles
    G02110963Courtesy of SUBARU OF AMERICA, INC.
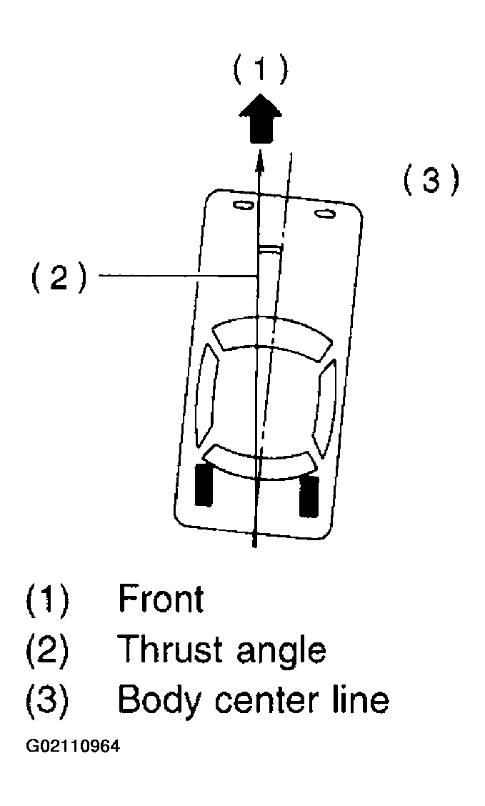
NOTE: Thrust angle refers to a mean value of left and right rear wheel toe angles in relation to vehicle body center line. Vehicle is driven straight in the thrust angle direction while swinging in the oblique direction depending on the degree of the mean thrust angle.
Fig 2: Identifying Center Line & Thrust Angle
G02110964Courtesy of SUBARU OF AMERICA, INC.

Thrust angle:  r = (alpha - beta)/2

  1. alpha:  Right rear wheel toe-in angle
  2. beta:  Left rear wheel toe-in angle
NOTE: Here, use only positive toe-in values from each wheel to substitute for alpha and beta in the equation.
Fig 3: Identifying Alpha & Beta Angles
G02110965Courtesy of SUBARU OF AMERICA, INC.