lemon-mirror:
Home >> Subaru >> 2003 >> Baja Automatic >> Repair and Diagnosis >> Electrical >> Gauges >> Instrumentation/Driver Info >> Combination Meter Assembly >> Disassembly >> Notes

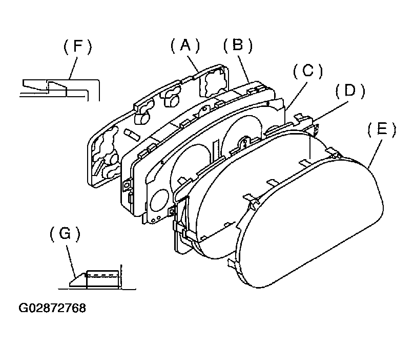
Combination Meter Assembly: Disassembly: Notes

CAUTION: Use gloves to avoid damage and getting fingerprints on the glass surface and meter surfaces.
  1. Disengage claw (F) to remove case (B) from back cover (A).
  2. Disengage claw (G) to remove meter glass (E), reflector (D), and window plate (C) from inner case.
    Fig 1: Disassembling Combination Meter
    G02872768Courtesy of SUBARU OF AMERICA, INC.
  3. Pull up claw (A) in portion (B) of printed circuit (C) with combination pliers. Push out speedometer assembly (D) and tachometer assembly (E) using hole (F).
  4. Pull up claw in the center of printed circuit (C), and remove printed circuit from case (G).
    Fig 2: Removing Printed Circuit From Case
    G02872769Courtesy of SUBARU OF AMERICA, INC.