lemon-mirror:
Home >> Subaru >> 2003 >> Baja Automatic >> Repair and Diagnosis >> Engine Performance >> Engine Control Systems >> Fuel Injection (Fuel Systems, H4SO) >> Engine Control Module >> Removal

Engine Control Module: Removal

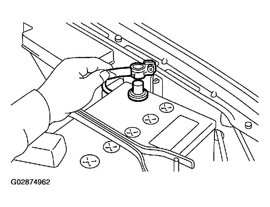
  1. Disconnect battery ground cable.
    Fig 1: Disconnecting Battery Ground Cable
    G02874962Courtesy of SUBARU OF AMERICA, INC.
  2. Remove lower inner trim of passenger side.

    < Ref. to REMOVAL , Lower Inner Trim.>

  3. Detach floor mat of passenger seat.
    Fig 2: Detaching Floor Mat Of Passenger Seat
    G02874963Courtesy of SUBARU OF AMERICA, INC.
  4. Remove protect cover.
    Fig 3: Removing Protect Cover
    G02874964Courtesy of SUBARU OF AMERICA, INC.
  5. Remove nuts (A) which hold ECM to bracket.
  6. Remove clip (B) from bracket.
    Fig 4: Removing Clip From Bracket
    G02874965Courtesy of SUBARU OF AMERICA, INC.
  7. Disconnect ECM connectors and take out ECM.