lemon-mirror:
Home >> Subaru >> 2003 >> Baja Automatic >> Repair and Diagnosis >> Engine Performance >> Engine Control Systems >> Fuel Injection (Fuel Systems, H4SO) >> Fuel Pump Relay >> Removal

Fuel Pump Relay: Removal

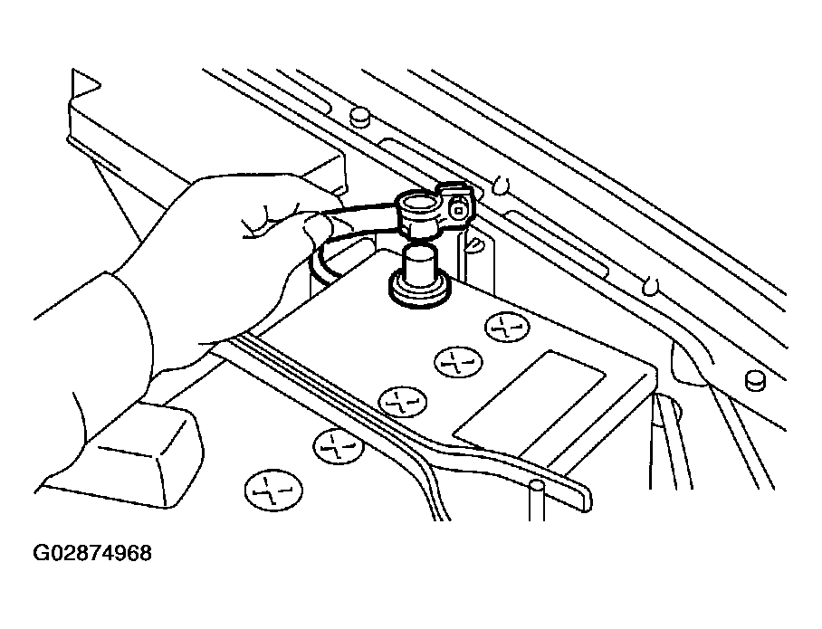
  1. Disconnect battery ground cable.
    Fig 1: Disconnecting Battery Ground Cable
    G02874968Courtesy of SUBARU OF AMERICA, INC.
  2. Remove lower cover.

    < Ref. to REMOVAL , Instrument Panel Assembly.>

  3. Disconnect connector from fuel pump relay.
    Fig 2: Disconnecting Connector From Fuel Pump Relay
    G02874969Courtesy of SUBARU OF AMERICA, INC.
  4. Remove fuel pump relay from mounting bracket.