lemon-mirror:
Home >> Subaru >> 2003 >> Baja Automatic >> Repair and Diagnosis >> Engine Performance >> Engine Control Systems >> Fuel Injection (Fuel Systems, H4SO) >> Intake Air Temperature Sensor >> Removal

Intake Air Temperature Sensor: Removal

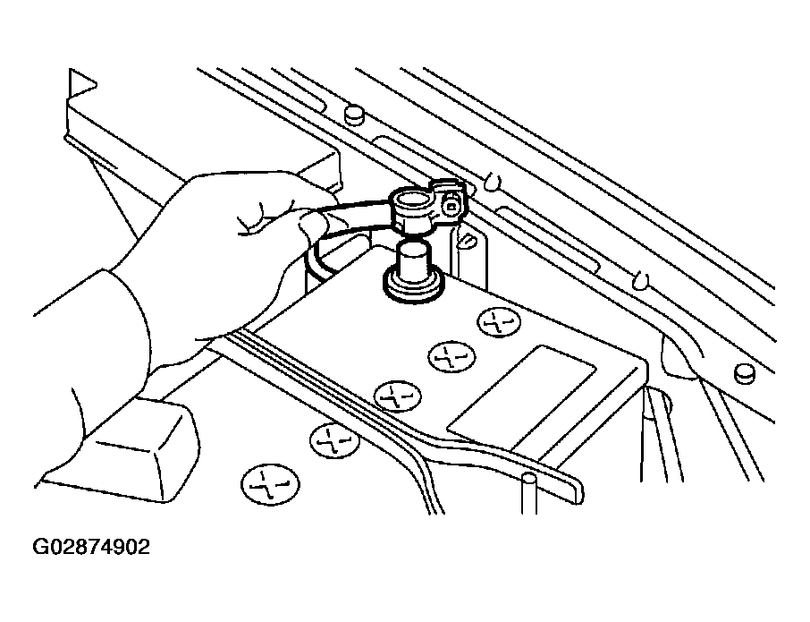
  1. Disconnect the ground cable from battery.
    Fig 1: Disconnecting Ground Cable From Battery
    G02874902Courtesy of SUBARU OF AMERICA, INC.
  2. Disconnect the connector from the intake air temperature sensor.
  3. Remove the intake air temperature sensor from air cleaner case.
    Fig 2: Removing Intake Air Temperature Sensor From Air Cleaner Case
    G02874903Courtesy of SUBARU OF AMERICA, INC.