lemon-mirror:
Home >> Subaru >> 2003 >> Baja Automatic >> Repair and Diagnosis >> Engine Performance >> Engine Control Systems >> Fuel Injection (Fuel Systems, H4SO) >> Knock Sensor >> Installation

Knock Sensor: Installation

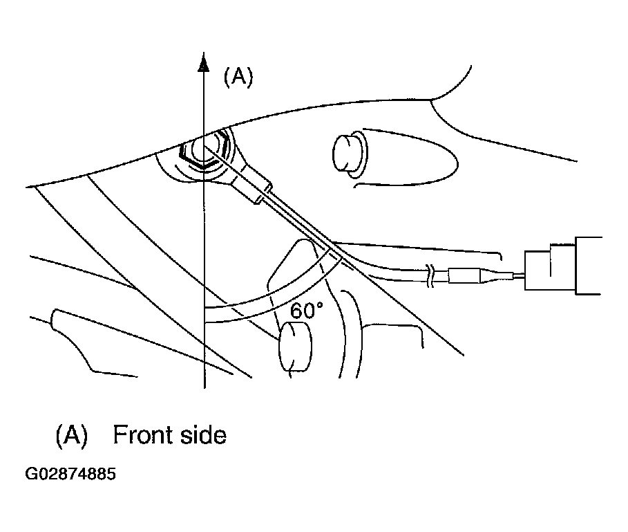
  1. Install knock sensor to cylinder block.
    1. Tightening torque:  24 N.m (2.4 kgf-m, 17.4 ft-lb)
    NOTE: The extraction area of the knock sensor cord must be positioned at a 60° angle relative to the engine rear.
    Fig 1: Installing Knock Sensor To Cylinder Block
    G02874885Courtesy of SUBARU OF AMERICA, INC.
  2. Connect knock sensor connector.
    Fig 2: Connecting Knock Sensor Connector
    G02874886Courtesy of SUBARU OF AMERICA, INC.
  3. Install air cleaner case.

    < Ref. to INSTALLATION , Air Cleaner Case.>

  4. Connect battery ground cable.
    Fig 3: Connecting Battery Ground Cable
    G02874887Courtesy of SUBARU OF AMERICA, INC.