lemon-mirror:
Home >> Subaru >> 2003 >> Baja Automatic >> Repair and Diagnosis >> Engine Performance >> Engine Control Systems >> Fuel Injection (Fuel Systems, H4SO) >> Throttle Position Sensor >> Adjustment

Throttle Position Sensor: Adjustment

  1. Turn ignition switch to OFF.
  2. Loosen throttle position sensor holding screws.
    Fig 1: Loosening Throttle Position Sensor Holding Screws
    G02874892Courtesy of SUBARU OF AMERICA, INC.
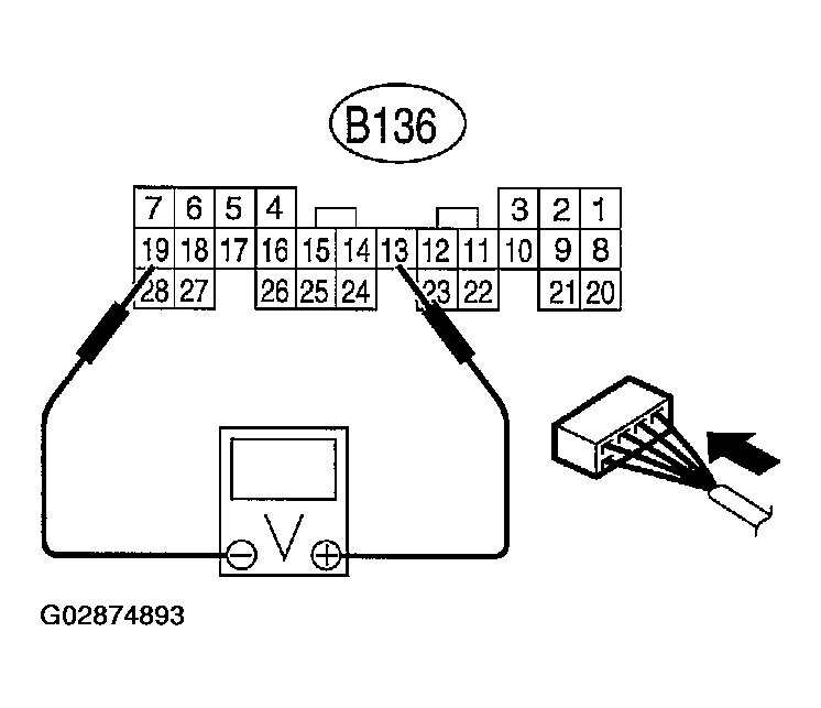
  3. When using voltage meter;
    1. Take out ECM.
    2. Turn ignition switch to ON.
    3. Adjust throttle position sensor to the proper position to allow the voltage signal to ECM to be in specification.

      Connector & terminal / Specified voltage 

      1. (B135) No. 13 - (B135) No. 19/0.45 - 0.55V [Fully closed.] 
      Fig 2: Checking Voltage Between Terminals
      G02874893Courtesy of SUBARU OF AMERICA, INC.
    4. Tighten throttle position sensor holding screws.
      1. Tightening torque:  2.4 N.m (0.24 kgf-m, 1.7 ft-lb)
      Fig 3: Tightening Throttle Position Sensor Holding Screws
      G02874894Courtesy of SUBARU OF AMERICA, INC.
  4. When using Subaru Select Monitor;
    1. Turn ignition switch to OFF.
    2. Loosen throttle position sensor holding screws.
      Fig 4: Loosening Throttle Position Sensor Holding Screws
      G02874895Courtesy of SUBARU OF AMERICA, INC.
    3. Insert the cartridge to Subaru Select Monitor.

      < Ref. to PREPARATION TOOL , General Description.>

    4. Connect Subaru Select Monitor to the data link connector (A).
      Fig 5: Connecting Subaru Select Monitor To Data Link Connector
      G02874896Courtesy of SUBARU OF AMERICA, INC.
  5. Turn ignition switch to ON, and Subaru Select Monitor switch to ON.
  6. Select {2. Each System Check} in Main Menu.
  7. Select {Engine Control System} in Selection Menu.
  8. Select {1. Current Data Display & Save} in Engine Control System Diagnosis.
  9. Select {1.12 Data Display} in Data Display Menu.
  10. Adjust throttle position sensor to the proper position to match with the following specifications.

    Condition: Throttle fully closed 

    1. Throttle opening angle 0.00% 
    2. Throttle sensor voltage 0.50 V 
  11. Tighten throttle position sensor holding screws.
    1. Tightening torque:  2.4 N.m (0.24 kgf-m, 1.7 ft-lb)
    Fig 6: Tightening Throttle Position Sensor Holding Screws
    G02874897Courtesy of SUBARU OF AMERICA, INC.