lemon-mirror:
Home >> Subaru >> 2003 >> Baja Automatic >> Repair and Diagnosis >> Transmission >> Automatic Trans >> Automatic Trans - Mechanism & Function >> Transmission Control Module (TCM) >> AWD Transfer Clutch Control (MPT Models) >> Notes

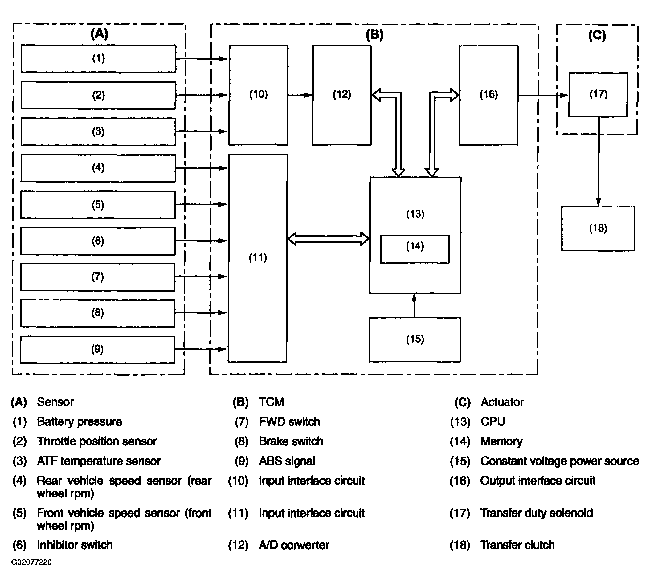
AWD Transfer Clutch Control (MPT Models): Notes

Fig 1: Identifying AWD Transfer Clutch Control (MPT Models)
G02077220Courtesy of SUBARU OF AMERICA, INC.