lemon-mirror:
Home >> Subaru >> 2003 >> Baja Automatic >> Repair and Diagnosis >> Transmission >> Automatic Trans >> Automatic Trans - Mechanism & Function >> Transmission Control Module (TCM) >> Shifting Control

Shifting Control

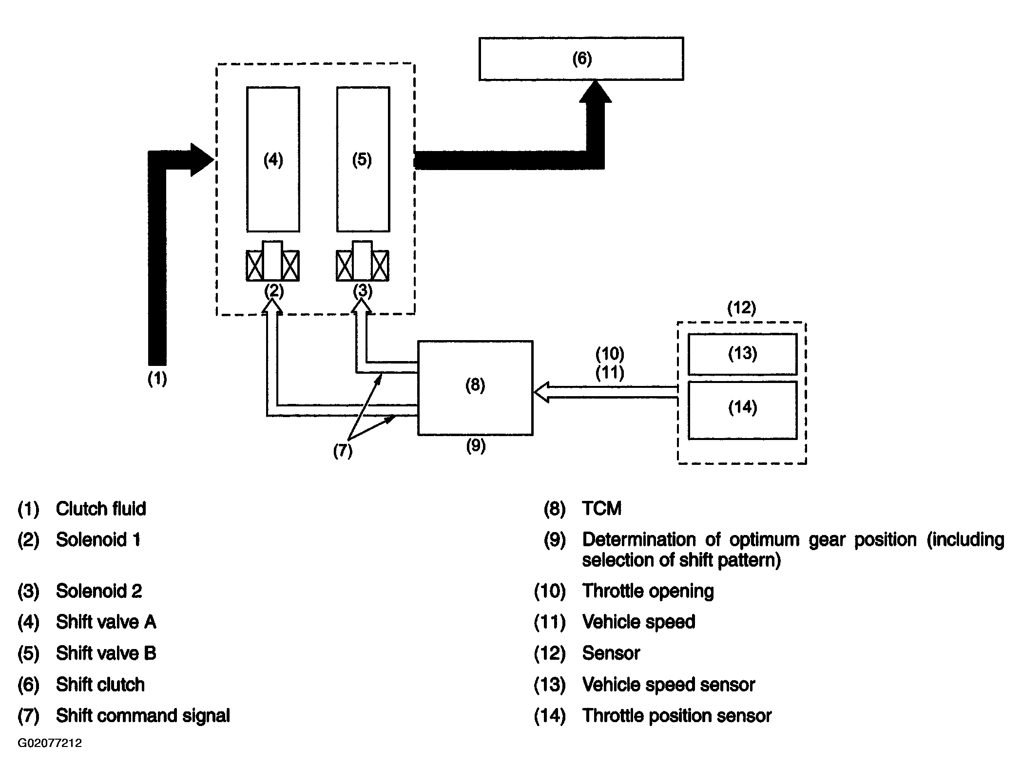
The TCM performs gear shifting control according to driving conditions by using the shift point characteristic data stored in its memory. Appropriate solenoids are operated at the proper timing corresponding to the shift pattern, throttle position, and vehicle speed for smooth shifting.

NOTE: When the ATF temperature is below approximately 10°C (50°F), the gear cannot be shifted to the 4th speed.
Fig 1: Shifting Control - Solenoids Chart
G02077210Courtesy of SUBARU OF AMERICA, INC.
Fig 2: Shifting Control - Pattern
G02077211Courtesy of SUBARU OF AMERICA, INC.
Fig 3: Identifying Shifting Control Circuit
G02077212Courtesy of SUBARU OF AMERICA, INC.