lemon-mirror:
Home >> Subaru >> 2003 >> Forester X, Automatic >> Repair and Diagnosis >> Body & Frame >> Windows >> Glass/Window/Mirrors >> Rear Gate Glass >> Installation

Rear Gate Glass: Installation

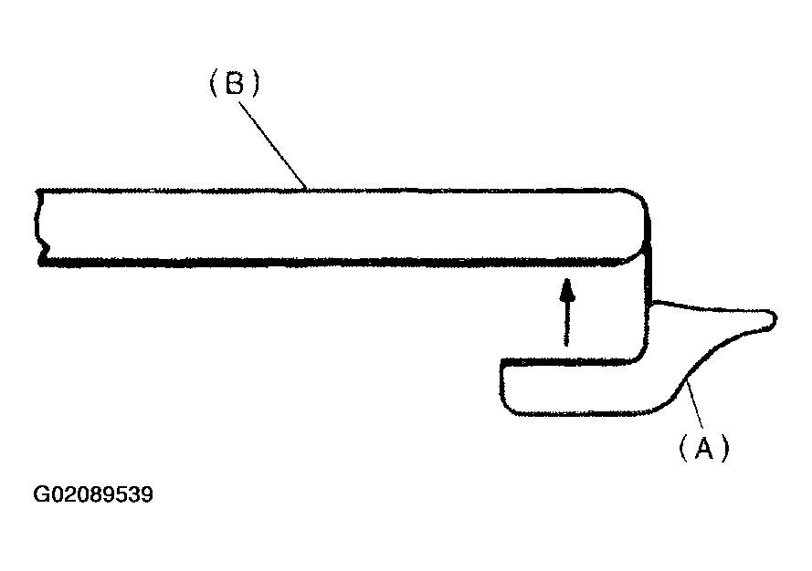
  1. Install a new rubber strip (A) by aligning it with the end of the rear gate glass (B).
    Fig 1: Aligning Rubber Strip With End Of Rear Gate Glass
    G02089539Courtesy of SUBARU OF AMERICA, INC.
  2. Install the glass in same procedure as for windshield glass. Refer to INSPECTION  , Front Regulator and Motor Assembly.
    Fig 2: Installing Rear Gate Glass
    G02089540Courtesy of SUBARU OF AMERICA, INC.
  3. About one hour after installation, conduct a leak test.
  4. After completion of all work, allow the vehicle to stand for about 24 hours.
    NOTE:
    • For minimum drying time and time the vehicle must be left standing before driving after bonding, follow instructions or instruction manual from the adhesive manufacturer.
    • When a vehicle is returned to the user, tell him or her that the vehicle should not be subjected to heavy impact for at least three days.
  5. Connect the rear defogger terminals.
  6. Install the rear gate garnish. Refer to INSTALLATION , Rear Gate Garnish Assembly.