lemon-mirror:
Home >> Subaru >> 2003 >> Forester X, Automatic >> Repair and Diagnosis >> Engine Performance >> Engine Control Systems >> Fuel Injection (Fuel Systems) >> FueI Pump >> Removal

FueI Pump: Removal

WARNING:
  • Place "NO FIRE" signs near the working area. 
  • Be careful not to spill fuel on the floor. 
NOTE: Fuel pump assembly consists of fuel pump and fuel level sensor.
  1. Release the fuel pressure. Refer to RELEASING OF FUEL PRESSURE , OPERATION, Fuel.
  2. Open the fuel filler flap lid and remove the fuel filler cap.
  3. Disconnect the ground cable from battery.
    Fig 1: Disconnecting Ground Cable From Battery
    G02945355Courtesy of SUBARU OF AMERICA, INC.
  4. Lift-up the vehicle.
  5. Drain the fuel from the fuel tank. Set a container under the vehicle and remove the drain plug from the fuel tank.
    Fig 2: Locating Bolt For Draining Fuel From Fuel Tank
    G02945356Courtesy of SUBARU OF AMERICA, INC.
  6. Tighten the fuel drain plug.

    Tightening torque: 

    1. 26 N.m (2.65 kgf-m, 19.2 ft-lb) 
    Fig 3: Locating Bolt For Tightening
    G02945357Courtesy of SUBARU OF AMERICA, INC.
  7. Raise the rear seat and turn the floor mat up.
  8. Remove the access hole lid.
    Fig 4: Removing Access Hole Lid
    G02945358Courtesy of SUBARU OF AMERICA, INC.
  9. Disconnect the connector from the fuel pump.
    Fig 5: Disconnecting Connector From Fuel Pump
    G02945359Courtesy of SUBARU OF AMERICA, INC.
  10. Disconnect the quick connector and then disconnect the fuel delivery hose. Refer to REMOVAL , Fuel Delivery, Return and Evaporation Lines.
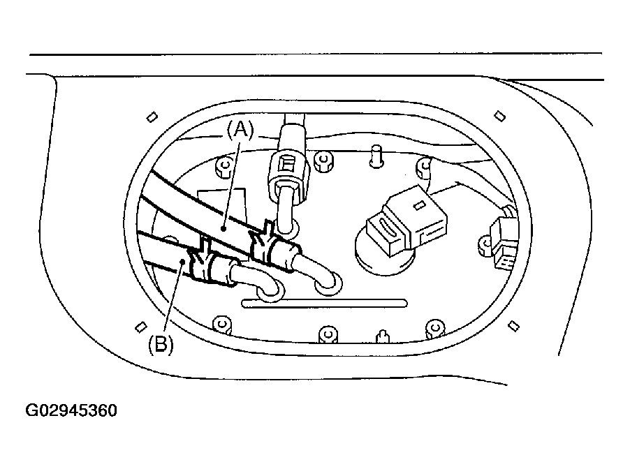
  11. Move the clip and then disconnect the fuel return hose (A) and jet pump hose (B).
    Fig 6: Locating Fuel Return Hose, Jet Pump Hose For Disconnection
    G02945360Courtesy of SUBARU OF AMERICA, INC.
  12. Remove the nuts which install the fuel pump assembly onto the fuel tank.
    Fig 7: Identifying Nuts For Removing
    G02945361Courtesy of SUBARU OF AMERICA, INC.
  13. Take off the fuel pump assembly from the fuel tank.