lemon-mirror:
Home >> Subaru >> 2003 >> Forester X, Automatic >> Repair and Diagnosis >> Engine Performance >> Engine Control Systems >> Fuel Injection (Fuel Systems) >> Fuel Filler Pipe >> Installation

Fuel Filler Pipe: Installation

  1. Hold the fuel filler flap open.
  2. Set the fuel saucer (A) with rubber packing (C) and insert the fuel filler pipe into hole from the inner side of apron.
    Fig 1: Setting Fuel Saucer With Rubber Packing
    G02945337Courtesy of SUBARU OF AMERICA, INC.
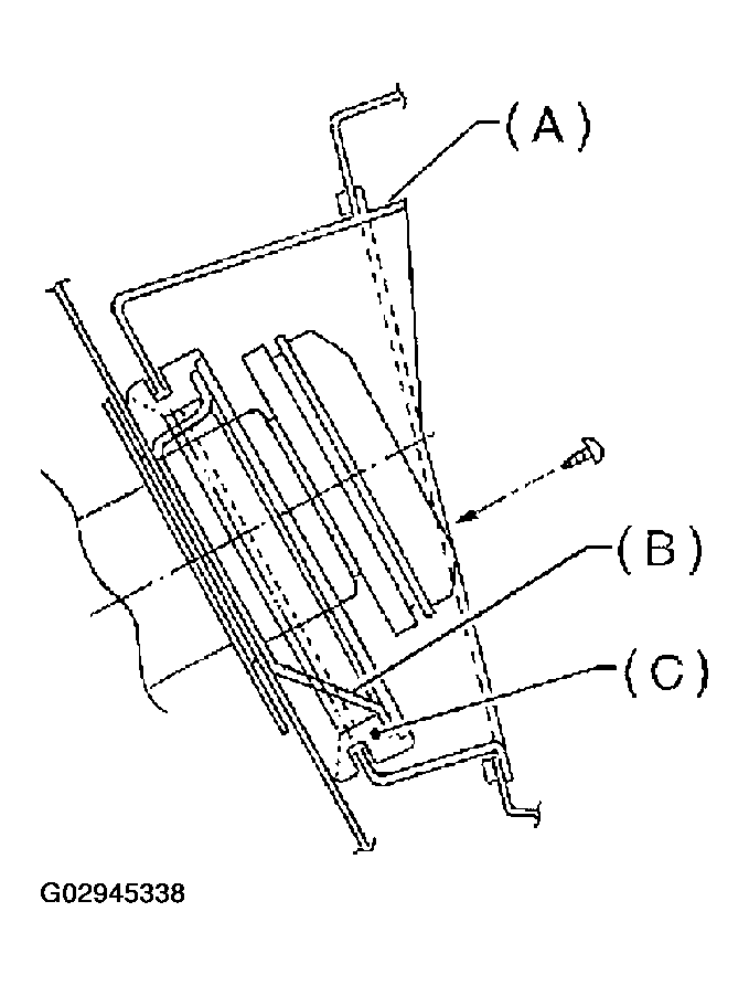
  3. Align the holes in fuel filler pipe neck and set the cup (B), and tighten the screws.
    NOTE: If the edges of rubber packing are folded toward the inside, straighten it with a screwdriver.
    Fig 2: Aligning Holes In Fuel Filler Pipe Neck & Set Cup & Tightening Screws
    G02945338Courtesy of SUBARU OF AMERICA, INC.
  4. Install the evaporation pipe.
    Fig 3: Installing Evaporation Pipe
    G02945339Courtesy of SUBARU OF AMERICA, INC.
  5. Connect the evaporation hose to the pipe.
    Fig 4: Connecting Evaporation Hose To Pipe
    G02945340Courtesy of SUBARU OF AMERICA, INC.
  6. Insert the fuel filler hose (A) approximately 35 to 40 mm (1.38 to 1.57 in) over the lower end of fuel filler pipe and tighten the clamp.
    CAUTION: Do not allow clips to touch evaporation hose (B) and rear suspension crossmember. 
    Fig 5: Inserting Fuel Filler & Evaporation Hose
    G02945341Courtesy of SUBARU OF AMERICA, INC.
  7. Insert the evaporation hose approximately 25 to 30 mm (0.98 to 1.18 in) into the lower end of evaporation pipe and hold the clip.

    L = 27.5+/-2.5 mm (1.083+/-0.098 in) 

    Fig 6: Measuring Evaporation Hose Dimensions
    G02945342Courtesy of SUBARU OF AMERICA, INC.
  8. Tighten the bolt which holds the fuel filler pipe bracket on the body.

    Tightening torque: 

    1. 7.5 N.m (0.75 kgf-m, 5.4 ft-lb) 
    Fig 7: Identifying Bolt For Tightening
    G02945343Courtesy of SUBARU OF AMERICA, INC.
  9. Secure the evaporation hose to clip of fuel filler pipe.
    Fig 8: Installing Evaporation Hose To Clip Of Fuel Filler Pipe
    G02945344Courtesy of SUBARU OF AMERICA, INC.
  10. Install the fuel filler pipe protector.
    Fig 9: Locating Screws For Installing Fuel Filler Pipe
    G02945345Courtesy of SUBARU OF AMERICA, INC.
  11. Install the rear right wheel.
    Fig 10: Installing Rear Right Wheel
    G02945346Courtesy of SUBARU OF AMERICA, INC.
  12. Lower the vehicle.
  13. Tighten the wheel nuts.
  14. Connect the connector to the fuel pump relay.
    Fig 11: Locating Connector Position For Connection
    G02945347Courtesy of SUBARU OF AMERICA, INC.
  15. Connect the battery ground terminal.
    Fig 12: Connecting Battery Ground Terminal
    G02945348Courtesy of SUBARU OF AMERICA, INC.