lemon-mirror:
Home >> Subaru >> 2003 >> Forester X, Automatic >> Repair and Diagnosis >> Engine Performance >> Engine Control Systems >> Fuel Injection (Fuel Systems) >> Fuel Filler Pipe >> Removal

Fuel Filler Pipe: Removal

WARNING:
  • Place "NO FIRE" signs near the working area. 
  • Be careful not to spill fuel on the floor. 
  1. Release the fuel pressure. Refer to RELEASING OF FUEL PRESSURE , OPERATION, Fuel.
  2. Open the fuel filler flap lid and remove the filler cap.
  3. Disconnect the ground cable from battery.
    Fig 1: Disconnect Ground Cable From Battery
    G02945326Courtesy of SUBARU OF AMERICA, INC.
  4. Remove the screws holding packing in place.
    Fig 2: Locating Screws For Removal
    G02945327Courtesy of SUBARU OF AMERICA, INC.
  5. Lift-up the vehicle.
  6. Remove the rear right side wheel nuts.
  7. Remove the rear right side wheel.
    Fig 3: Removing Rear Right Side Wheel
    G02945328Courtesy of SUBARU OF AMERICA, INC.
  8. Drain the fuel from the fuel tank. Set a container under the vehicle and remove the drain plug from the fuel tank.
    Fig 4: Locating Bolts For Draining Fuel
    G02945329Courtesy of SUBARU OF AMERICA, INC.
  9. Tighten the fuel drain plug.

    Tightening torque: 

    1. 26 N.m (2.65 kgf-m, 19.2 ft-lb) 
    Fig 5: Locating Bolt For Tightening
    G02945330Courtesy of SUBARU OF AMERICA, INC.
  10. Remove the fuel filler pipe protector.
    Fig 6: Locating Bolt For Removing Fuel Filler Pipe Protector
    G02945331Courtesy of SUBARU OF AMERICA, INC.
  11. Separate the evaporation hoses from the clip of fuel filler pipe.
    Fig 7: Locating Evaporation Hose Separating Position
    G02945332Courtesy of SUBARU OF AMERICA, INC.
  12. Disconnect the evaporation hoses from the pipes.
    Fig 8: Identifying Evaporation Hose For Disconnection
    G02945333Courtesy of SUBARU OF AMERICA, INC.
  13. Remove the bolts which hold the fuel filler pipe bracket on the body.
    Fig 9: Identifying Bolts For Removal
    G02945334Courtesy of SUBARU OF AMERICA, INC.
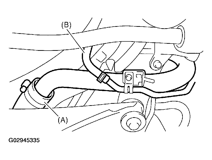
  14. Loosen the clamp and separate the fuel filler hose (A) from the fuel filler pipe.
  15. Move the clip and separate the evaporation hose (B).
    Fig 10: Locating Fuel Filler Hose Evaporation Hose For Separation
    G02945335Courtesy of SUBARU OF AMERICA, INC.
  16. Remove the fuel filler pipe to under side of the vehicle.
  17. Remove the evaporation pipe together with clip from the body.
    Fig 11: Removing Evaporation Pipe Together With Clip From Body
    G02945336Courtesy of SUBARU OF AMERICA, INC.