lemon-mirror:
Home >> Subaru >> 2003 >> Forester X, Automatic >> Repair and Diagnosis >> Engine Performance >> Engine Control Systems >> Fuel Injection (Fuel Systems) >> Fuel Tank >> Installation

Fuel Tank: Installation

  1. Support the fuel tank with transmission jack and push the fuel tank harness into access hole with grommet.
  2. Set the fuel tank and temporarily tighten the bolts of fuel tank bands.
    WARNING: A helper is required to perform this work. 
    Fig 1: Locating Bolts For Installing Fuel Tank
    G02945318Courtesy of SUBARU OF AMERICA, INC.
  3. Connect the fuel filler hose (A) and air vent hose (B).
    Fig 2: Connecting Fuel Filler & Air Vent Hose
    G02945319Courtesy of SUBARU OF AMERICA, INC.
  4. Connect the fuel hoses, and hold them with clips and quick connector. Refer to REMOVAL , Fuel Delivery, Return and Evaporation Lines.
    Fig 3: Connecting Fuel Hoses
    G02945320Courtesy of SUBARU OF AMERICA, INC.
  5. Connect the connector to the drain valve.
    Fig 4: Connecting Connector To Drain Valve
    G02945321Courtesy of SUBARU OF AMERICA, INC.
  6. Connect the connector to the pressure control solenoid valve.
  7. Connect the evaporation hose to the canister, and hold them clamp.
    Fig 5: Connect Evaporation Hose To Canister
    G02945322Courtesy of SUBARU OF AMERICA, INC.
  8. Tighten the band mounting bolts.

    Tightening torque: 

    1. 33 N.m (3.4 kgf-m, 25 ft-lb) 
    Fig 6: Locating Mounting Bolts For Tightening
    G02945323Courtesy of SUBARU OF AMERICA, INC.
  9. Install the rear crossmember. Refer to CROSSMEMBER , Rear Crossmember.
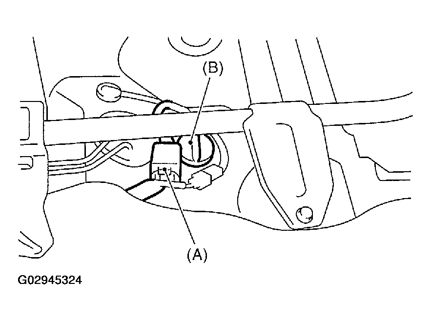
  10. Connect the connectors (A) to the fuel tank cord and plug the service hole with grommet (B).
    Fig 7: Connecting Connector To Fuel Tank & Plugging Service Hole With Grommet
    G02945324Courtesy of SUBARU OF AMERICA, INC.
  11. Set the rear seat and floor mat.
  12. Connect the connector to the fuel pump relay.
    Fig 8: Connecting Connector To Fuel Pump Relay
    G02945325Courtesy of SUBARU OF AMERICA, INC.