lemon-mirror:
Home >> Subaru >> 2003 >> Forester X, Automatic >> Repair and Diagnosis >> Engine Performance >> Engine Control Systems >> Fuel Injection (Fuel Systems) >> Fuel Tank >> Removal

Fuel Tank: Removal

WARNING:
  • Place "NO FIRE" signs near the working area. 
  • Be careful not to spill fuel on the floor. 
  1. Set the vehicle on the lift.
  2. Release the fuel pressure. Refer to RELEASING OF FUEL PRESSURE , Fuel.
  3. Drain the fuel from the fuel tank. Refer to DRAINING FUEL , OPERATION, Fuel.
  4. Remove the rear seat.
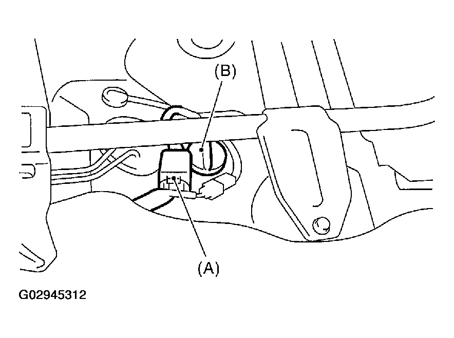
  5. Disconnect the connector (A) of fuel tank cord to the rear harness.
  6. Push the grommet (B) which holds the fuel tank cond on the floor panel into under the body.
    Fig 1: Locating Connector For Disconnection & Pushing Grommet
    G02945312Courtesy of SUBARU OF AMERICA, INC.
  7. Remove the rear crossmember. Refer to REMOVAL , Rear Crossmember.
  8. Move the clamp, and disconnect the evaporation hose from the canister.
    Fig 2: Disconnect Evaporation Hose By Removing Clamps
    G02945313Courtesy of SUBARU OF AMERICA, INC.
  9. Disconnect the connector from the pressure control solenoid valve.
  10. Disconnect the connector from the drain valve.
    Fig 3: Identifying Connector For Disconnection
    G02945314Courtesy of SUBARU OF AMERICA, INC.
  11. Loosen the clamp and disconnect the fuel filler hose (A) and evaporation hose (B) from the fuel filler pipe.
    Fig 4: Identifying Fuel Filler Hose & Evaporation Hose For Disconnection
    G02945315Courtesy of SUBARU OF AMERICA, INC.
  12. Move the clips, and disconnect the quick connector. Refer to REMOVAL , Fuel Delivery, Return and Evaporation Lines.
  13. Disconnect the fuel hoses.
    Fig 5: Identifying Fuel Hoses For Disconnection
    G02945316Courtesy of SUBARU OF AMERICA, INC.
  14. Support the fuel tank with transmission jack, remove the bolts from bands and dismount the fuel tank from the vehicle.
    WARNING: A helper is required to perform this work. 
    Fig 6: Locating Bolts For Disconnecting Fuel Tank
    G02945317Courtesy of SUBARU OF AMERICA, INC.