lemon-mirror:
Home >> Subaru >> 2003 >> Forester X, Automatic >> Repair and Diagnosis >> Transmission >> Automatic Trans >> Automatic Transmission - Mechanism & Function >> Transmission Control Module (TCM) >> AWD Transfer Clutch Control >> Notes

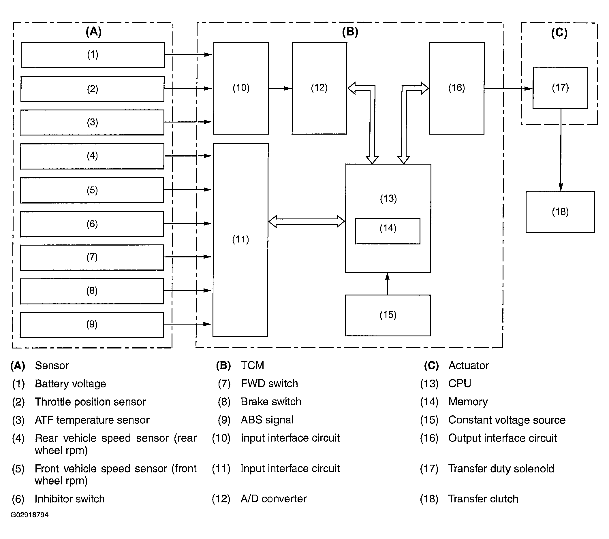
AWD Transfer Clutch Control: Notes

Fig 1: AWD Transfer Clutch Control Diagram
G02918794Courtesy of SUBARU OF AMERICA, INC.