lemon-mirror:
Home >> Subaru >> 2003 >> Forester X, Automatic >> Repair and Diagnosis >> Transmission >> Automatic Trans >> Automatic Transmission >> Automatic Transmission Assembly >> Removal

Automatic Transmission Assembly: Removal

  1. Set the vehicle on a lift.
  2. Open the front hood fully, and support with stay.
  3. Disconnect the ground cable from battery.
  4. Remove the air intake duct. Refer to REMOVAL , Air Intake Duct.
  5. Remove the air cleaner case. Refer to REMOVAL , Air Cleaner Case.
  6. Remove the air cleaner case stay.
    Fig 1: Removing Air Cleaner Case Stay
    G02093020Courtesy of SUBARU OF AMERICA, INC.
  7. Disconnect the following connectors.
    1. Transmission harness connector
      Fig 2: Disconnecting Transmission Harness Connector
      G02093021Courtesy of SUBARU OF AMERICA, INC.
    2. Transmission ground cable
  8. Remove the starter.

    Refer to REMOVAL , Starter.

  9. Remove the pitching stopper.
    Fig 3: Removing Pitching Stopper
    G02093022Courtesy of SUBARU OF AMERICA, INC.
  10. Separate the torque converter clutch from drive plate.
    1. Remove the service hole plug.
    2. Remove the V-belt cover.
    3. Remove the bolts which hold torque converter clutch to drive plate.
    4. By inserting a wrench into the crank pulley bolt, rotate the crank pulley in the direction of engine rotation to remove the other bolts.
    Fig 4: Rotating Crank Pulley With Wrench
    G02093023Courtesy of SUBARU OF AMERICA, INC.
  11. Install the ST to torque converter clutch case.

    ST 498277200 STOPPER SET

    Fig 5: Installing ST To Torque Converter Clutch Case
    G02093024Courtesy of SUBARU OF AMERICA, INC.
  12. Set the ST.
    NOTE: Also the ENGINE SUPPORT BRACKET 41099AA010 can be used.

    ST 41099AA020 ENGINE SUPPORT ASSY

    Fig 6: Setting ST
    G02093025Courtesy of SUBARU OF AMERICA, INC.
  13. Remove the bolt which holds right upper side of transmission to engine.
    Fig 7: Removing Bolt Holding Right Upper Side Of Transmission
    G02093026Courtesy of SUBARU OF AMERICA, INC.
  14. Lift-up the vehicle.
  15. Remove the under cover.
  16. Remove the front, center, rear exhaust pipe and muffler. Refer to REMOVAL , Front Exhaust Pipe, REMOVAL , Rear Exhaust Pipe and REMOVAL , Muffler.
  17. Remove the heat shield cover.
  18. Remove the ATF drain plug to drain ATF.
    Fig 8: Removing ATF Drain Plug
    G02093027Courtesy of SUBARU OF AMERICA, INC.
  19. Drain the differential gear oil. Refer to REPLACEMENT , Differential Gear Oil.
  20. Disconnect the ATF cooler hoses from pipes of transmission side, and remove the ATF level gauge guide.
    NOTE: Plug the opening to prevent entry of foreign particles into transmission fluid.
    Fig 9: Disconnecting ATF Cooler Hoses From Pipes Of Transmission Side
    G02093028Courtesy of SUBARU OF AMERICA, INC.
  21. Remove the propeller shaft.
  22. Remove the shift select cable. Refer to REMOVAL , Select Cable.
  23. Disconnect the stabilizer link from transverse link.
  24. Remove the bolt securing ball joint of transverse link to housing, and then separate the transverse link from housing.
    Fig 10: Removing Bolt Securing Ball Joint Of Transverse Link To Housing
    G02093029Courtesy of SUBARU OF AMERICA, INC.
  25. Pull the front drive shaft out of transmission.
    1. Face the "AT" letter ST to transmission side.

      ST 28399SA000 DRIVE SHAFT REMOVER

      Fig 11: Pulling Front Drive Shaft Out Of Transmission
      G02093030Courtesy of SUBARU OF AMERICA, INC.
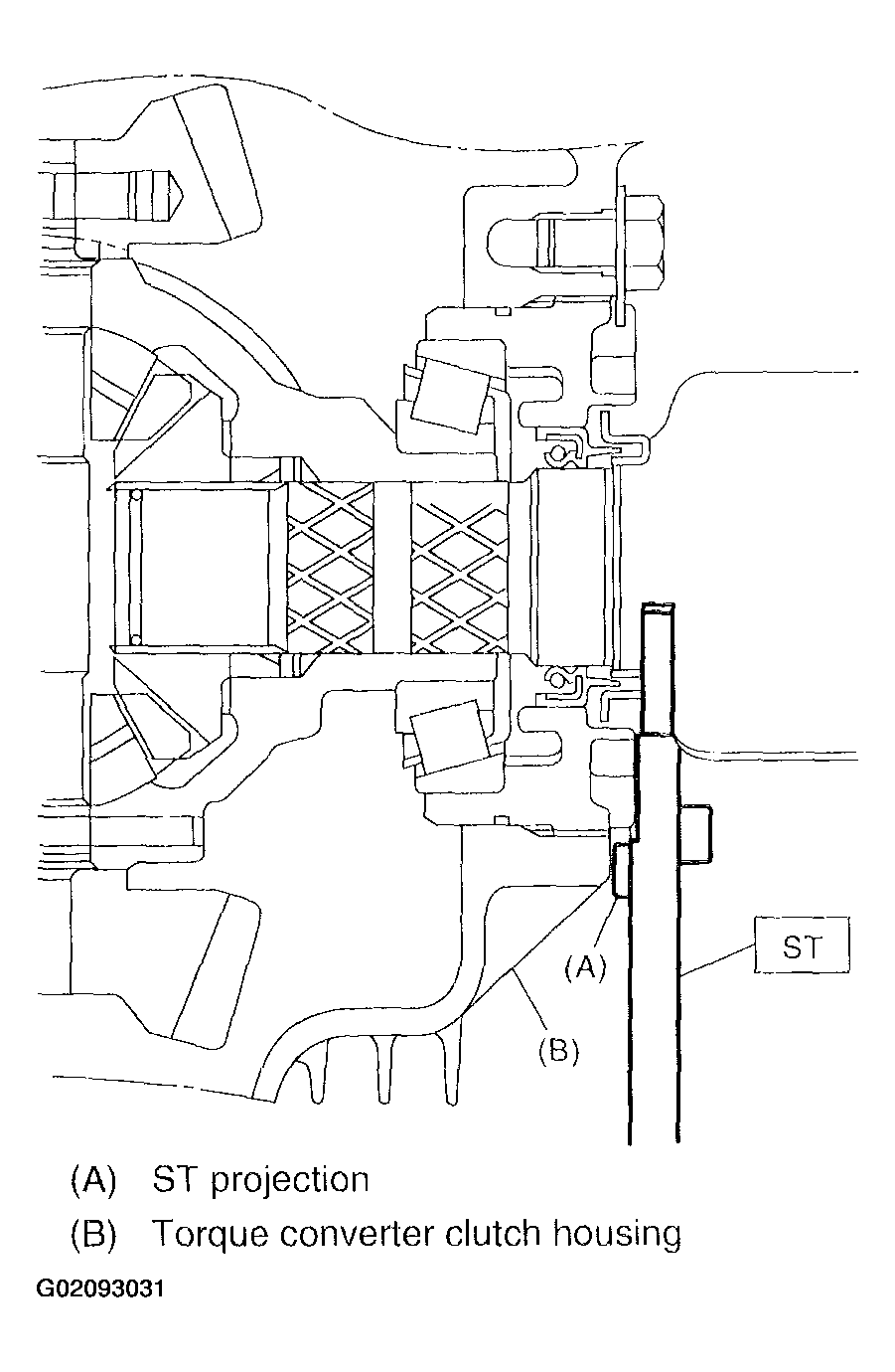
    2. Insert the ST between transmission and front drive shaft.
      NOTE: Put the projection of ST on torque converter clutch housing.

      ST 28399SA000 DRIVE SHAFT REMOVER

      Fig 12: Inserting ST Between Transmission & Front Drive Shaft
      G02093031Courtesy of SUBARU OF AMERICA, INC.
    3. While holding the joint portion (AAR) of front drive shaft with your hand, push the housing outside to remove from transmission.
  26. Remove the nuts which hold lower side of transmission to engine.
    Fig 13: Removing Nuts Holding Lower Side Of Transmission
    G02093032Courtesy of SUBARU OF AMERICA, INC.
  27. Place the transmission jack under transmission.
    NOTE: Make sure that the support plates of transmission jack don't touch the oil pan.
  28. Remove the transmission rear crossmember from vehicle.
    Fig 14: Removing Transmission Rear Crossmember From Vehicle
    G02093033Courtesy of SUBARU OF AMERICA, INC.
  29. Remove the transmission.
    CAUTION: Separate the transmission and torque converter as a unit away from engine. 
    Fig 15: Removing Transmission
    G02093034Courtesy of SUBARU OF AMERICA, INC.
  30. Separate the transmission assembly and rear cushion rubber.