lemon-mirror:
Home >> Subaru >> 2003 >> Forester XS, Automatic >> Repair and Diagnosis >> Engine Performance >> Engine Control Systems >> Fuel Injection (Fuel Systems) >> Fuel Level Sensor >> Removal

Fuel Level Sensor: Removal

WARNING:
  • Place "NO FIRE" signs near the working area.
  • Be careful not to spill fuel on the floor.
NOTE: Fuel level sensor is built in fuel pump assembly.
  1. Remove the fuel pump assembly. Refer to REMOVAL , Fuel Pump.
  2. Disconnect the connector from the fuel pump bracket.
    Fig 1: Identifying Connector For Disconnection
    G02945364Courtesy of SUBARU OF AMERICA, INC.
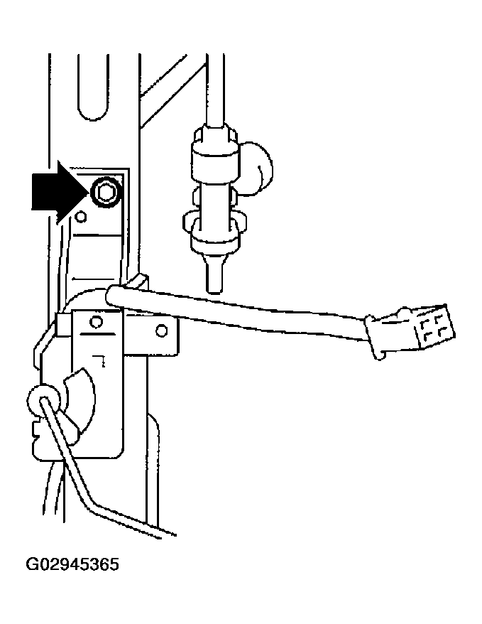
  3. Remove the bolt which installs the fuel level sensor on the mounting bracket.
    Fig 2: Locating Bolt For Removing
    G02945365Courtesy of SUBARU OF AMERICA, INC.