lemon-mirror:
Home >> Subaru >> 2004 >> Baja Base, Automatic >> Repair and Diagnosis >> Transmission >> Automatic Trans >> Automatic Transmission - Mechanism & Function >> Transmission Control Module (TCM) >> AWD Center Differential Control (VTD Models) >> Control System

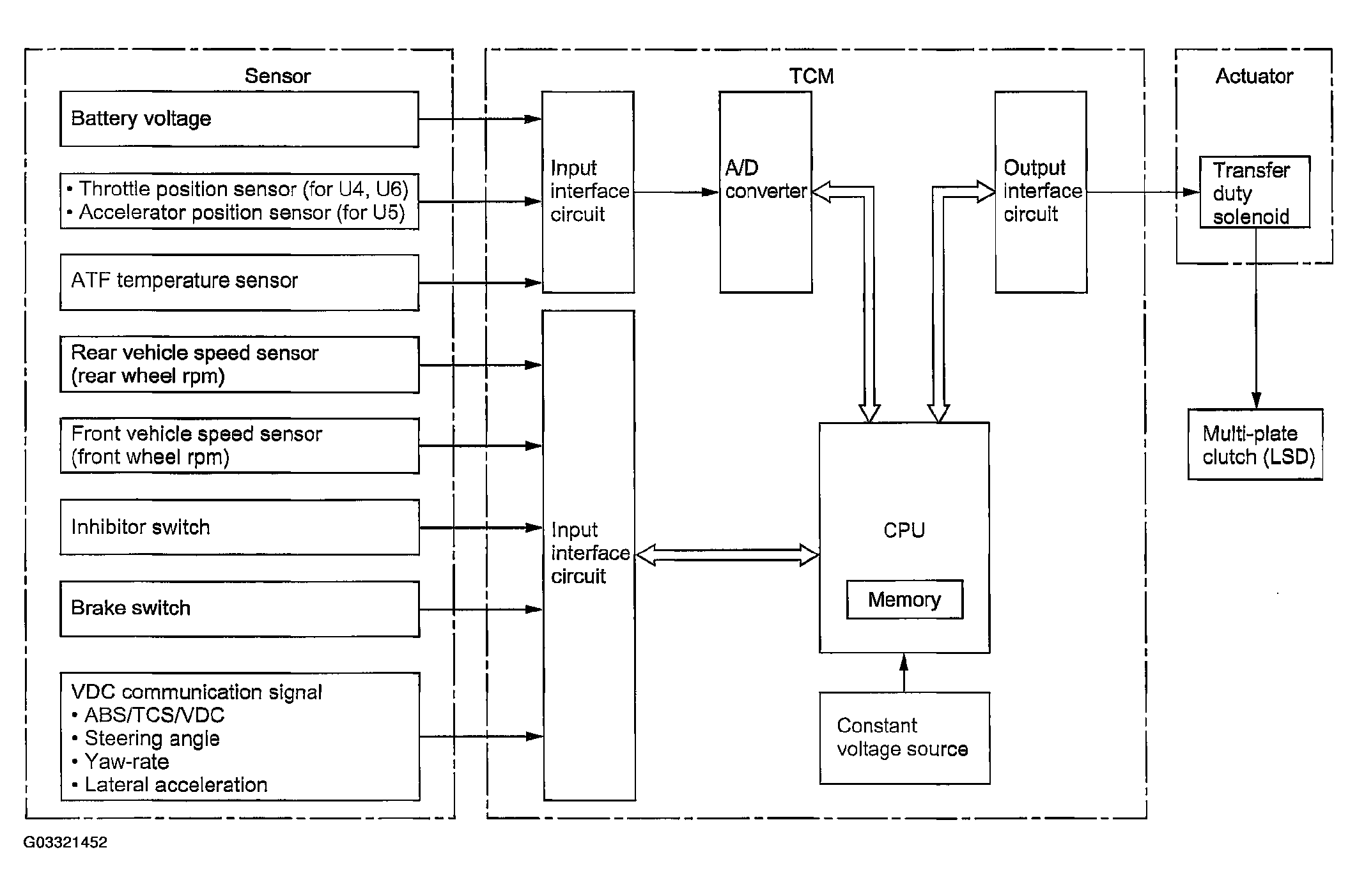
Control System

The TCM is constantly monitoring the driving conditions of the vehicle using the eleven input signals. Based on the conditions it has determined, the TCM adjusts the duty ratio of current to the transfer duty solenoid thus changing the engagement of the multi-plate clutch. The input signals are used also for automatic transmission control.

Fig 1: Identifying Control System Flow Chart
G03321452Courtesy of SUBARU OF AMERICA, INC.