lemon-mirror:
Home >> Subaru >> 2004 >> Baja Base, Automatic >> Repair and Diagnosis >> Transmission >> Automatic Trans >> Automatic Transmission - Mechanism & Function >> Transmission Control Module (TCM) >> AWD Transfer Clutch Control (MPT Models) >> Notes

AWD Transfer Clutch Control (MPT Models): Notes

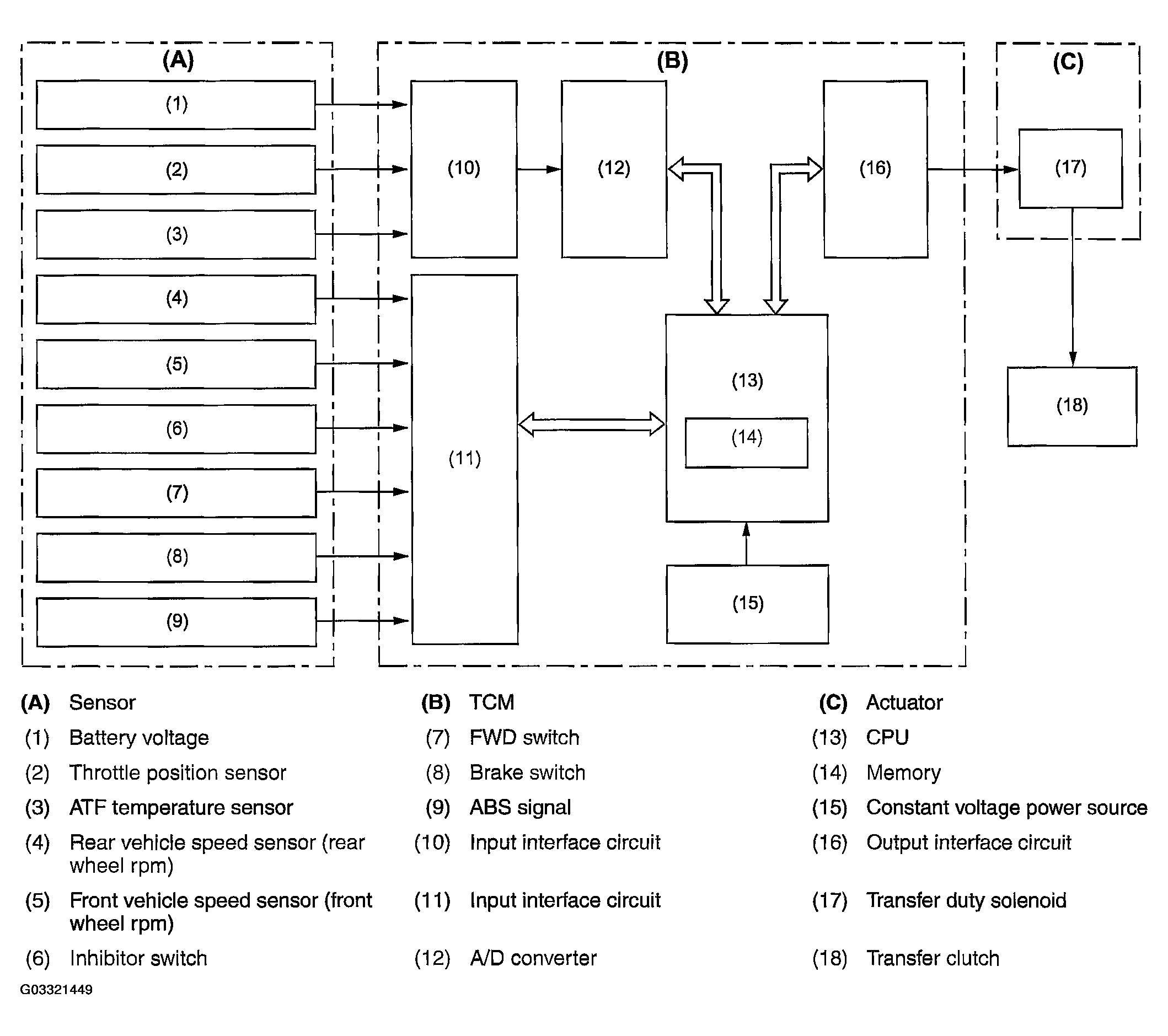
Fig 1: Identifying AWD Transfer Clutch Control Flow Chart (MPT Models)
G03321449Courtesy of SUBARU OF AMERICA, INC.